授权公布号:CN109122198B
一种自动化智能割胶机的刀头
有效
申请
2018-09-21
申请公布
2019-01-04
授权
2024-02-20
预估到期
2038-09-21
| 申请号 | CN201811104649.2 |
| 申请日 | 2018-09-21 |
| 申请公布号 | CN109122198A |
| 申请公布日 | 2019-01-04 |
| 授权公布号 | CN109122198B |
| 授权公告日 | 2024-02-20 |
| 分类号 | A01G23/12;A01G23/10 |
| 分类 | 农业;林业;畜牧业;狩猎;诱捕;捕鱼; |
| 申请人名称 | 海南天然橡胶产业集团股份有限公司 |
| 申请人地址 | 海南省海口市滨海大道103号财富广场4楼 |
专利法律状态
2024-02-20
授权
状态信息
授权
2019-01-29
实质审查的生效
状态信息
实质审查的生效;IPC(主分类):A01G23/12;申请日:20180921
2019-01-04
公布
状态信息
公布
摘要
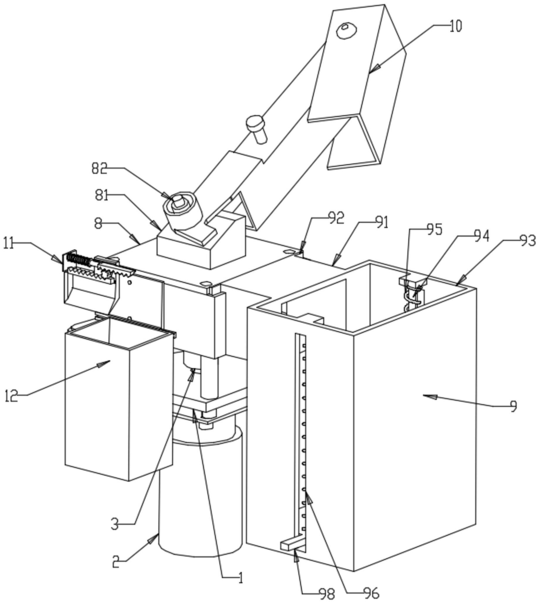
本发明提供一种自动化智能割胶机的刀头,包括基板,基板上安装有电机,电机的电机轴穿过基板连接有第一齿轮,与第一齿轮啮合有第二齿轮,基板上通过若干个支撑套筒安装有切削导板,第二齿轮通过一连接轴连接有刀头,切削导板上设置有导板壁,导板壁的侧面设置有导向限位装置,导板壁上还设置有胶线清除组件,切削导板的端面上设置有第一插槽,与第一插槽连接有碎屑收集器,与切削导板的顶端连接有盖板,盖板上设置有楔形台,楔形台上设置有一安装轴,与安装轴连接有悬臂组件,悬臂组件用于与割胶机连接。本发明通过设置碎屑收集器,解决树皮碎屑收集的问题,并通过设置胶线清除组件,解决胶线影响刀头割胶的问题。


