授权公布号:CN216753640U
一种天然乳胶压纹手套烘干炉及生产线
有效
申请
2021-11-17
申请公布
1970-01-01
授权
2022-06-17
预估到期
2031-11-17
| 申请号 | CN202122816323.6 |
| 申请日 | 2021-11-17 |
| 授权公布号 | CN216753640U |
| 授权公告日 | 2022-06-17 |
| 分类号 | A41D19/04 |
| 分类 | 服装; |
| 申请人名称 | 山东登升安防科技有限公司 |
| 申请人地址 | 山东省潍坊市高密经济开发区姚前路3300号 |
专利法律状态
2023-09-26
专利权质押合同登记的生效、变更及注销
状态信息
专利权质押合同登记的生效;IPC(主分类):A41D 19/04;专利号:ZL2021228163236;登记号:Y2023980055907;登记生效日:20230908;出质人:山东登升安防科技有限公司;质权人:交通银行股份有限公司潍坊分行;实用新型名称:一种天然乳胶压纹手套烘干炉及生产线;申请日:20211117;授权公告日:20220617
2022-06-17
授权
状态信息
授权
摘要
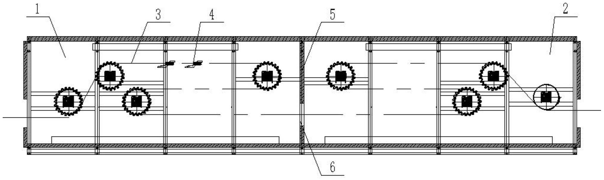
本实用新型公开了一种天然乳胶压纹手套烘干炉及生产线,它属于乳胶手套生产领域,包括相邻的第一烘干炉和第二烘干炉,第一烘干炉和第二烘干炉之间设有保温隔板,本实用新型第一烘干炉和第二烘干炉内设有手套传输链,保温隔板上设有手套传输链传送的输送通道,手套传输链上设有手模,手模上套设有浸胶的针织手套,从烘干炉中出来的手套会进行压纹,其中的第一烘干炉的温度可调,第二烘干炉的温度稳定。本实用新型通过将传统的单个大体积大长度烘干炉改造成两个短烘干炉,根据压纹效果反馈调整温度时,小空间的烘干炉调整温度更快,从而提高了烘干反馈时效,间接加速了生产效率。


