授权公布号:CN110740657B
链牙结构及拉链
有效
申请
2019-07-31
申请公布
2020-01-31
授权
2021-04-16
预估到期
2039-07-31
| 申请号 | CN201980001217.5 |
| 申请日 | 2019-07-31 |
| 申请公布号 | CN110740657A |
| 申请公布日 | 2020-01-31 |
| 授权公布号 | CN110740657B |
| 授权公告日 | 2021-04-16 |
| 分类号 | A44B19/24;A44B19/02 |
| 分类 | 服饰缝纫用品;珠宝; |
| 申请人名称 | 深圳市华圣达拉链有限公司 |
| 申请人地址 | 广东省深圳市光明新区狮山工业区第四号 |
专利法律状态
2021-04-16
授权
状态信息
授权
2020-02-25
实质审查的生效
状态信息
实质审查的生效
2020-01-31
公布
状态信息
公布
摘要
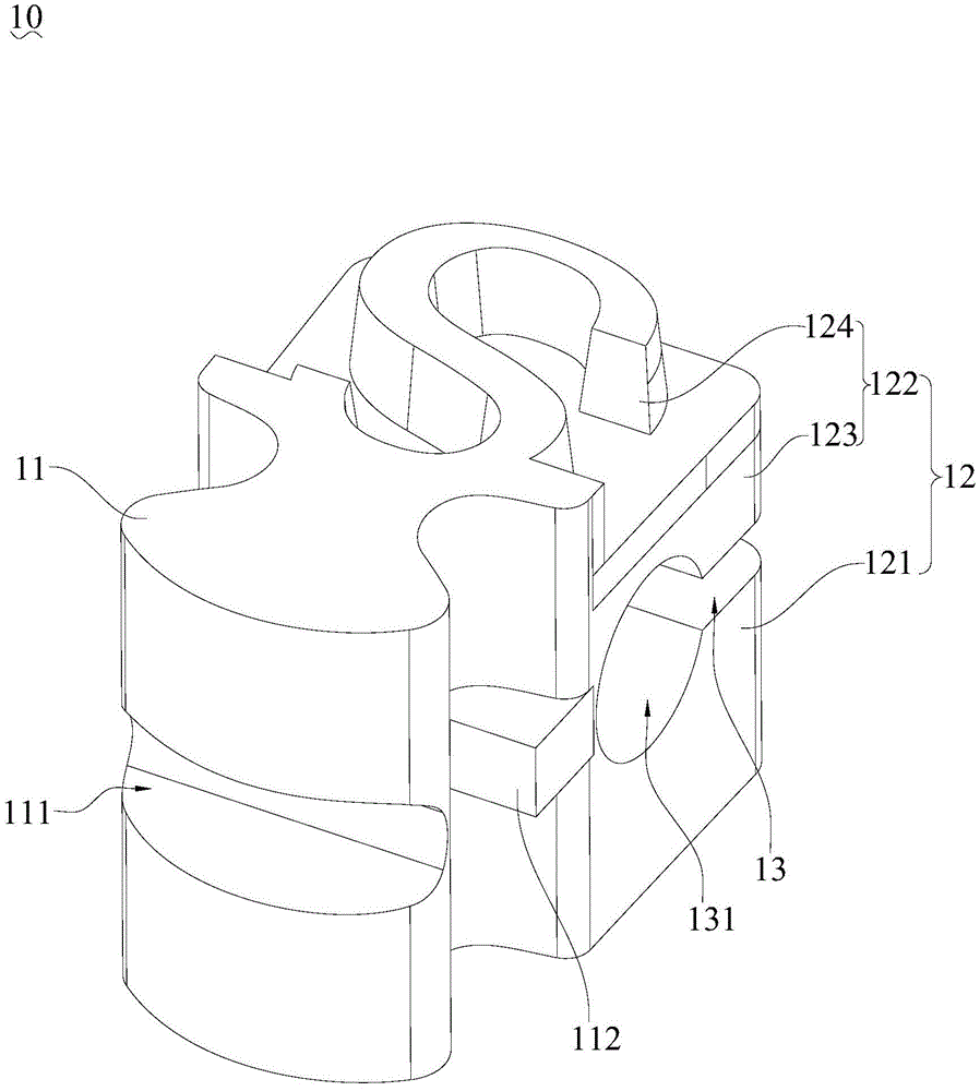
一种链牙结构(10)及拉链(20),链牙结构(10)包括牙头(11)和牙身(12),牙头(11)具有连接侧,牙身(12)包括下稳固部(121)和上造型部(122),下稳固部(121)和牙头(11)的连接侧相连接,上造型部(122)包括强化底座(123)和具有图文标识的标识块(124),强化底座(123)和牙头(11)的连接侧相连接,并位于下稳固部(121)的上方,标识块(124)设置于强化底座(123)上。一方面可实现链牙结构(10)和相应链带的稳固连接,另一方面也可实现对标识块(124)的稳定承托,加强了牙身(12)的整体结构强度,进而使得链牙结构(10)在承受横向拉扯力时不易发生断裂。


