授权公布号:CN218391530U
一种术后病人用转移垫
有效
申请
2022-04-22
申请公布
1970-01-01
授权
2023-01-31
预估到期
2032-04-22
| 申请号 | CN202220942968.6 |
| 申请日 | 2022-04-22 |
| 授权公布号 | CN218391530U |
| 授权公告日 | 2023-01-31 |
| 分类号 | A61G7/14 |
| 分类 | 医学或兽医学;卫生学; |
| 申请人名称 | 河南亚太医疗用品有限公司 |
| 申请人地址 | 河南省新乡市长垣市满村工业区 |
专利法律状态
2023-01-31
授权
状态信息
授权
摘要
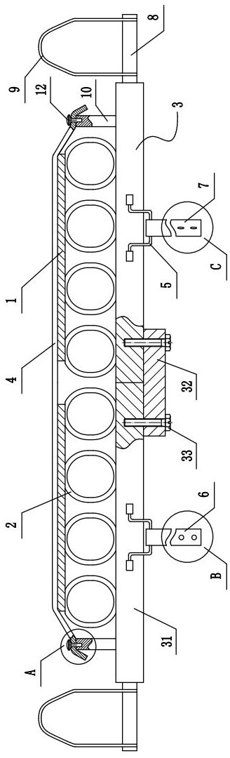
本实用新型涉及一种术后病人用转移垫,包括水平设置且不易变形的矩形承重垫,矩形承重垫包括两块水平相对设置的垫板,两块垫板相对侧底面之间设置有与垫板平行设置的连接板,连接板四角均螺纹连接有竖直相对分布的连接螺栓,且连接板通过连接螺栓分别与垫板相连接,每块垫板的顶面上均水平设置有若干个沿垫板长度方向等距分布的充气囊,每块垫板上的充气囊顶部之间均设置有与垫板平行设置的柔性垫,两块柔性垫之间铺设有与矩形承重垫平行设置的一次性垫单,一次性垫单与矩形承重垫之间可拆卸固定连接,使用本实用新型能够避免对患者造成二次伤害,保障患者在转移过程中的舒适度,且减少患者痛苦及不必要损伤;能够提高卫生条件避免患者交叉感染。


