授权公布号:CN211040544U
一种玻璃盖板及LED封装结构
有效
申请
2019-05-30
申请公布
1970-01-01
授权
2020-07-17
预估到期
2029-05-30
| 申请号 | CN201920796298.X |
| 申请日 | 2019-05-30 |
| 授权公布号 | CN211040544U |
| 授权公告日 | 2020-07-17 |
| 分类号 | F21K9/27;F21V19/00;F21V31/00;F21Y115/10 |
| 分类 | 照明; |
| 申请人名称 | 东莞市奇声电子实业有限公司 |
| 申请人地址 | 广东省东莞市麻涌镇新基工业区 |
专利法律状态
2020-07-17
授权
状态信息
授权
摘要
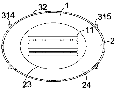
本实用新型公开了一种玻璃盖板及LED封装结构,包括LED灯本体,LED灯本体内设置有LED灯管,LED灯本体底端设置有玻璃盖板,玻璃盖板上设置有LED封装结构。本实用新型中玻璃盖板上圆周设置有密封垫和锁紧装置,锁紧装置内有弹动杆,弹动杆通过弹簧与固定块空腔所连接,安装LED灯本体的玻璃盖板时按压弹动杆,使玻璃盖板进入LED灯本体内,然后稍微旋转玻璃盖板,使弹动杆从LED灯本体表面的孔道弹出,拴紧螺栓即可完成安装过程,密封垫与LED灯本体内壁充分接触,具有良好的密封性,本实用新型通过简单的结构解决了户外音响设施LED灯的防水结构不够严密,且拆卸麻烦的问题,结构简单,价格低廉,使用效果好。


