授权公布号:CN216707072U
运载车传动装置
有效
申请
2021-11-11
申请公布
1970-01-01
授权
2022-06-10
预估到期
2031-11-11
| 申请号 | CN202122750034.0 |
| 申请日 | 2021-11-11 |
| 授权公布号 | CN216707072U |
| 授权公告日 | 2022-06-10 |
| 分类号 | B24B29/00;B24B29/02;B24B41/00;B24B41/02;B24B45/00;B24B41/06 |
| 分类 | 磨削;抛光; |
| 申请人名称 | 东莞市奇声电子实业有限公司 |
| 申请人地址 | 广东省东莞市麻涌镇新基工业区 |
专利法律状态
2022-06-10
授权
状态信息
授权
摘要
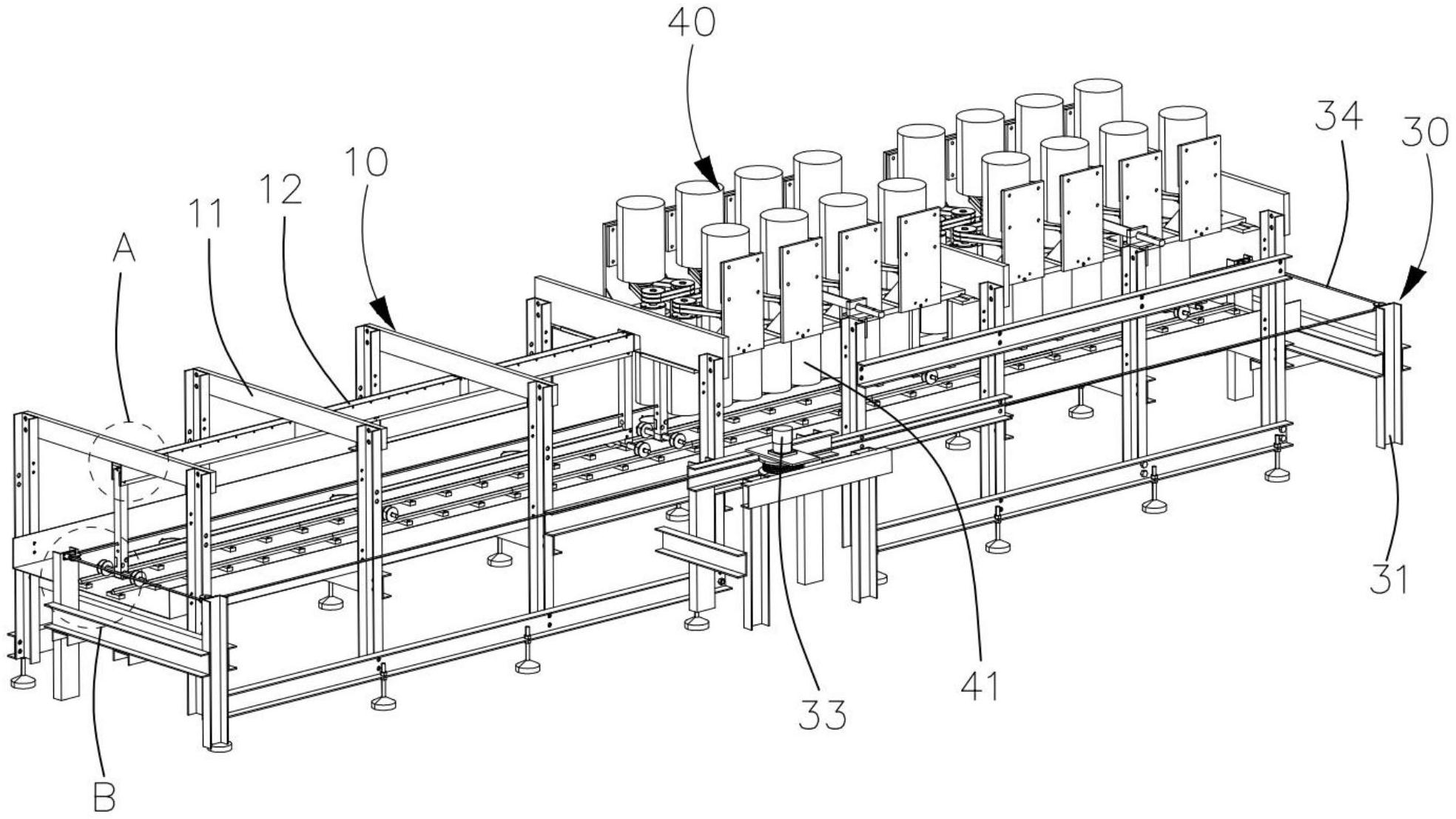
本实用新型涉及一种运载车传动装置,包括:承载组件,包括支架、隔离板、支撑板及两个导轨;可滑动安装于承载组件内的运载车;运载车包括车体及多个轨道轮;车体的顶部滑动安装于隔离板的内部,轨道轮与导轨匹配连接;及安装于承载组件一侧的驱动组件;驱动组件包括固定架、滑轮、牵引电机及牵引绳;牵引绳连接车体;牵引电机用于拉扯牵引绳,进而带动运载车沿着导轨进行运动。上述运载车传动装置,结构简单,导轨匹配连接运载车,利用牵引电机拉扯牵引绳带动运载车,整体结构的占用空间小,有利于降低投入成本。


