授权公布号:CN210712220U
一种洗衣机用排水机构
有效
申请
2019-09-23
申请公布
1970-01-01
授权
2020-06-09
预估到期
2029-09-23
| 申请号 | CN201921601052.9 |
| 申请日 | 2019-09-23 |
| 授权公布号 | CN210712220U |
| 授权公告日 | 2020-06-09 |
| 分类号 | D06F39/08 |
| 分类 | 织物等的处理;洗涤;其他类不包括的柔性材料; |
| 申请人名称 | 山东小鸭集团有限责任公司 |
| 申请人地址 | 山东省济南市高新区工业南路51号 |
专利法律状态
2020-06-09
授权
状态信息
授权
摘要
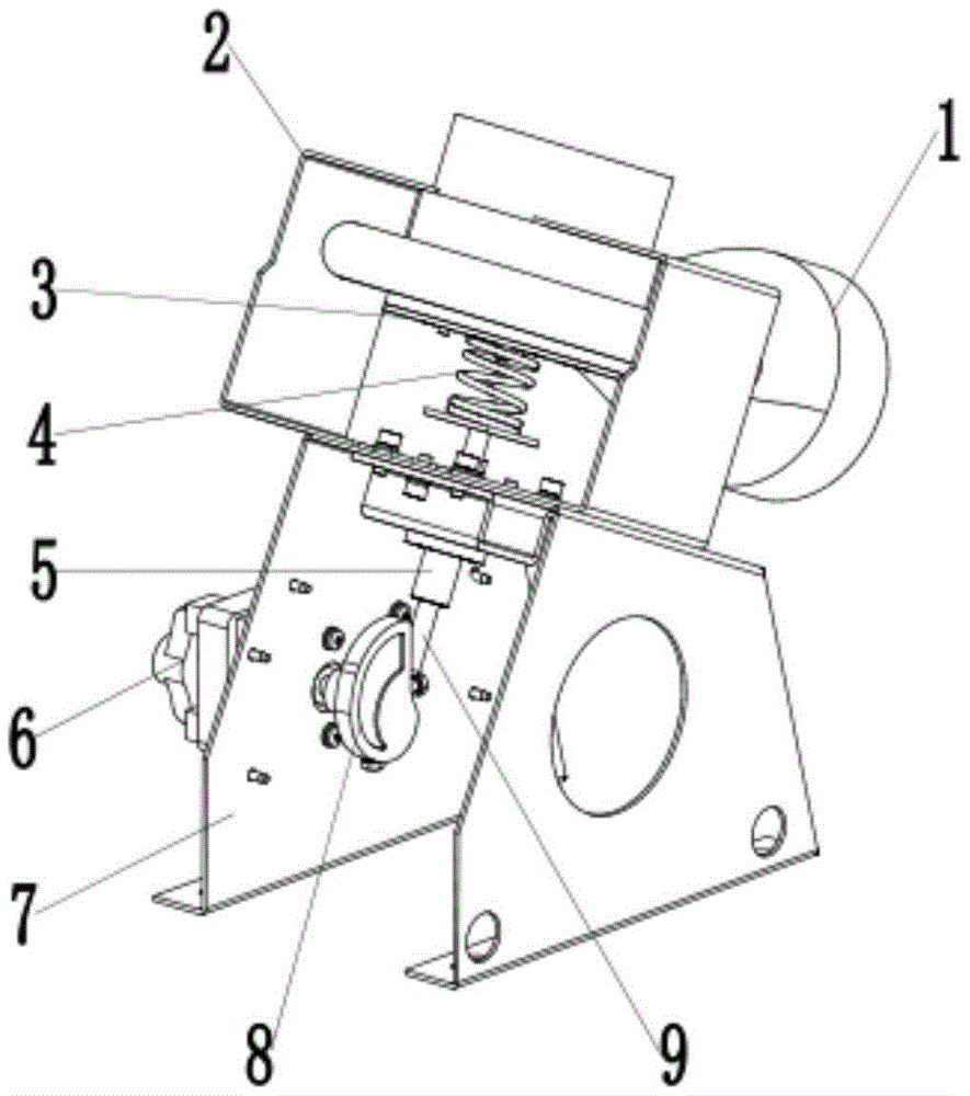
本实用新型公开了一种洗衣机用排水机构,包括阻水管、上支架、电机、下支架和顶杆,所述上支架安装在下支架的上端,所述阻水管通过上支架固定,所述阻水管为扁平的壳体结构,阻水管的上端设有进水管,阻水管的一侧设有出水管,阻水管的下方设有与下支架滑动配合的顶杆,顶杆的上端连有弹簧,弹簧的上端设有与阻水管下端面连接的顶板,所述下支架上固定有电机,所述电机的输出轴上设有凸轮,所述顶杆的下端与凸轮的侧壁配合;完全借助管壁的形变来实现封水过程,没有外部物体进入管体内部进行封堵,不会造成堵塞现象,解决了目前洗衣机排水阀泳衣被污水中的异物阻塞的问题,提高了排水机构使用的可靠性。


