授权公布号:CN113932296B
一种新型制冷装置和控制方法
有效
申请
2021-12-03
申请公布
2022-01-14
授权
2023-05-12
预估到期
2041-12-03
| 申请号 | CN202111467628.9 |
| 申请日 | 2021-12-03 |
| 申请公布号 | CN113932296A |
| 申请公布日 | 2022-01-14 |
| 授权公布号 | CN113932296B |
| 授权公告日 | 2023-05-12 |
| 分类号 | F24F1/0014;F24F11/89;F24F11/74;F24F11/64;F24F13/32 |
| 分类 | 供热;炉灶;通风; |
| 申请人名称 | 河南新飞制冷器具有限公司 |
| 申请人地址 | 河南省新乡市开发区36号街坊 |
专利法律状态
2023-05-12
授权
状态信息
授权
2022-01-14
公布
状态信息
公布
摘要
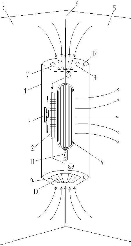
本发明公开了一种新型制冷装置,用作立式空调的室内机,壳体竖向固定连接在室内两面侧墙相交的墙角处且位于墙体的中上部;壳体顶端设有与室内上部空气相通的上进风口,上进风口处设有上电动风门;壳体底端设有与室内中下部空气相通的下进风口,下进风口处设有下电动风门;壳体上设有电控装置和与电控装置相连接的温度传感器,温度传感器嵌设于壳体上并用于探测室内气温;电控装置配套设有遥控器。本发明还公开了上述制冷装置的控制方法。壳体利用了室内墙角中上部的死空间,节省地面空间,提高室内空间的利用率;本发明能够采用上进风的方式,在同样的蒸发器温度下提高了换热温差,进而提高了空气与蒸发器的换热效率,降低空调能耗。


