授权公布号:CN218917054U
一种纸箱底部强度测试仪
有效
申请
2022-11-16
申请公布
1970-01-01
授权
2023-04-25
预估到期
2032-11-16
| 申请号 | CN202223044776.2 |
| 申请日 | 2022-11-16 |
| 授权公布号 | CN218917054U |
| 授权公告日 | 2023-04-25 |
| 分类号 | G01N3/08;G01N3/04;G01N3/06;G01N3/02 |
| 分类 | 测量;测试; |
| 申请人名称 | 光明乳业股份有限公司 |
| 申请人地址 | 上海市闵行区吴中路578号 |
专利法律状态
2023-04-25
授权
状态信息
授权
摘要
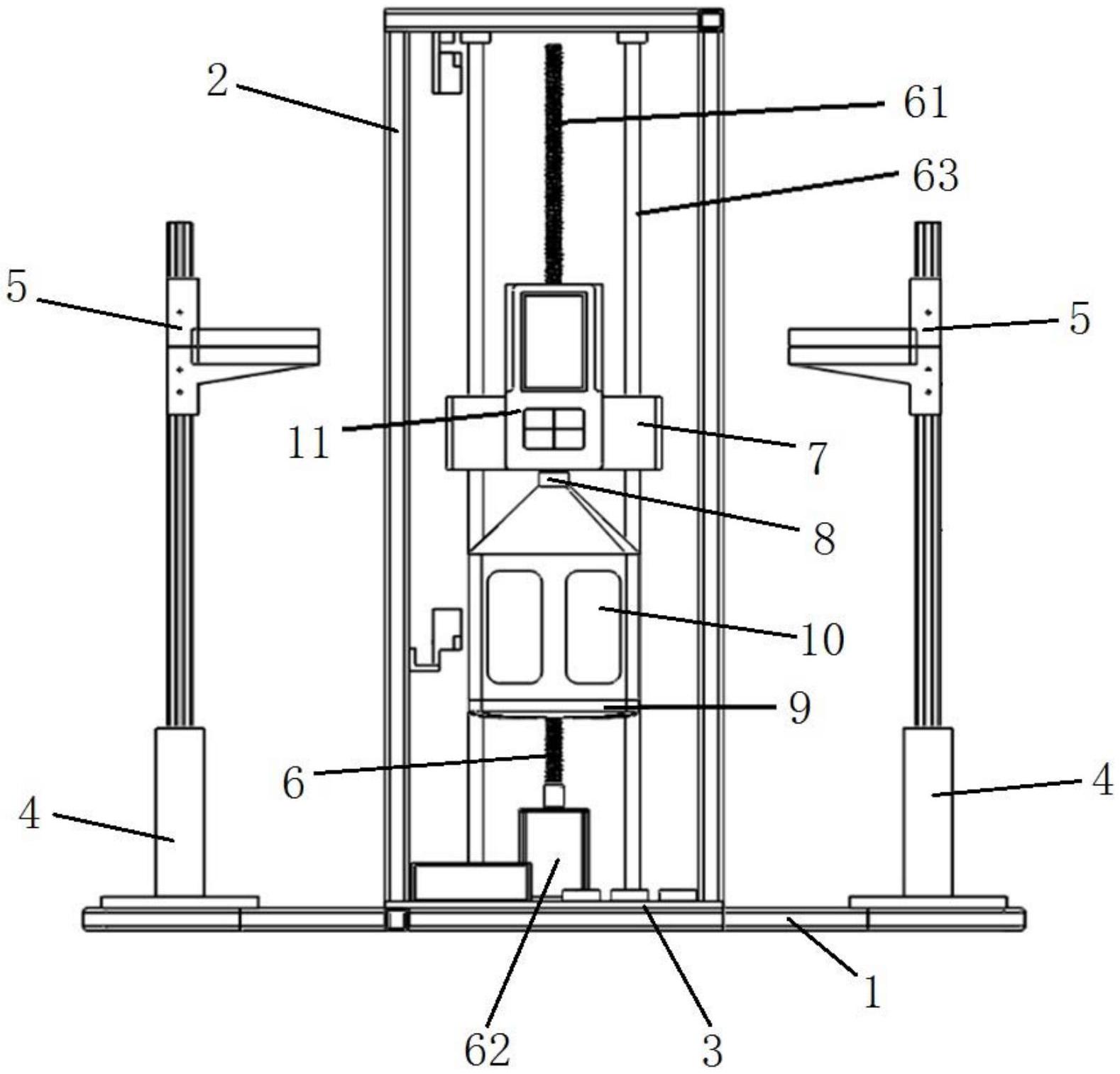
本实用新型公开了一种纸箱底部强度测试仪,包括横向滑轨座和竖向支撑架,横向滑轨座中部安装工作台,横向滑轨座两端横向滑动安装两夹持固定架,夹持固定架上安装夹具;竖向支撑架安装在横向滑轨座的中部外侧,其中部竖向安装丝杠滑轨组件,丝杠滑轨组件上竖向移动安装传感器支架,传感器支架底部安装压力传感器和压块,压块垂直下方与工作台对应。本实用新型的技术方案是将纸箱左右摇盖固定在夹具上,通过丝杠副驱动向下移动装在压力传感器上的压块,向纸箱底部施压,并记录压穿时的力值,来测量纸箱礼盒的底部强度,操作简单直观,测试效率高。


