授权公布号:CN2545941Y
饮水机的制冷罐
有效
申请
2002-06-07
申请公布
1970-01-01
授权
2003-04-23
预估到期
2012-06-07
| 申请号 | CN02221133.0 |
| 申请日 | 2002-06-07 |
| 授权公布号 | CN2545941Y |
| 授权公告日 | 2003-04-23 |
| 分类号 | A47J31/00;A47J31/50 |
| 分类 | 家具;家庭用的物品或设备;咖啡磨;香料磨;一般吸尘器; |
| 申请人名称 | 江苏白雪电器股份有限公司 |
| 申请人地址 | 江苏省常熟市白雪路 |
专利法律状态
2023-05-26
授权
状态信息
授权
2006-08-09
专利权的终止未缴年费专利权终止
状态信息
专利权的终止未缴年费专利权终止
2003-04-23
实用新型专利权授予
状态信息
授权
摘要
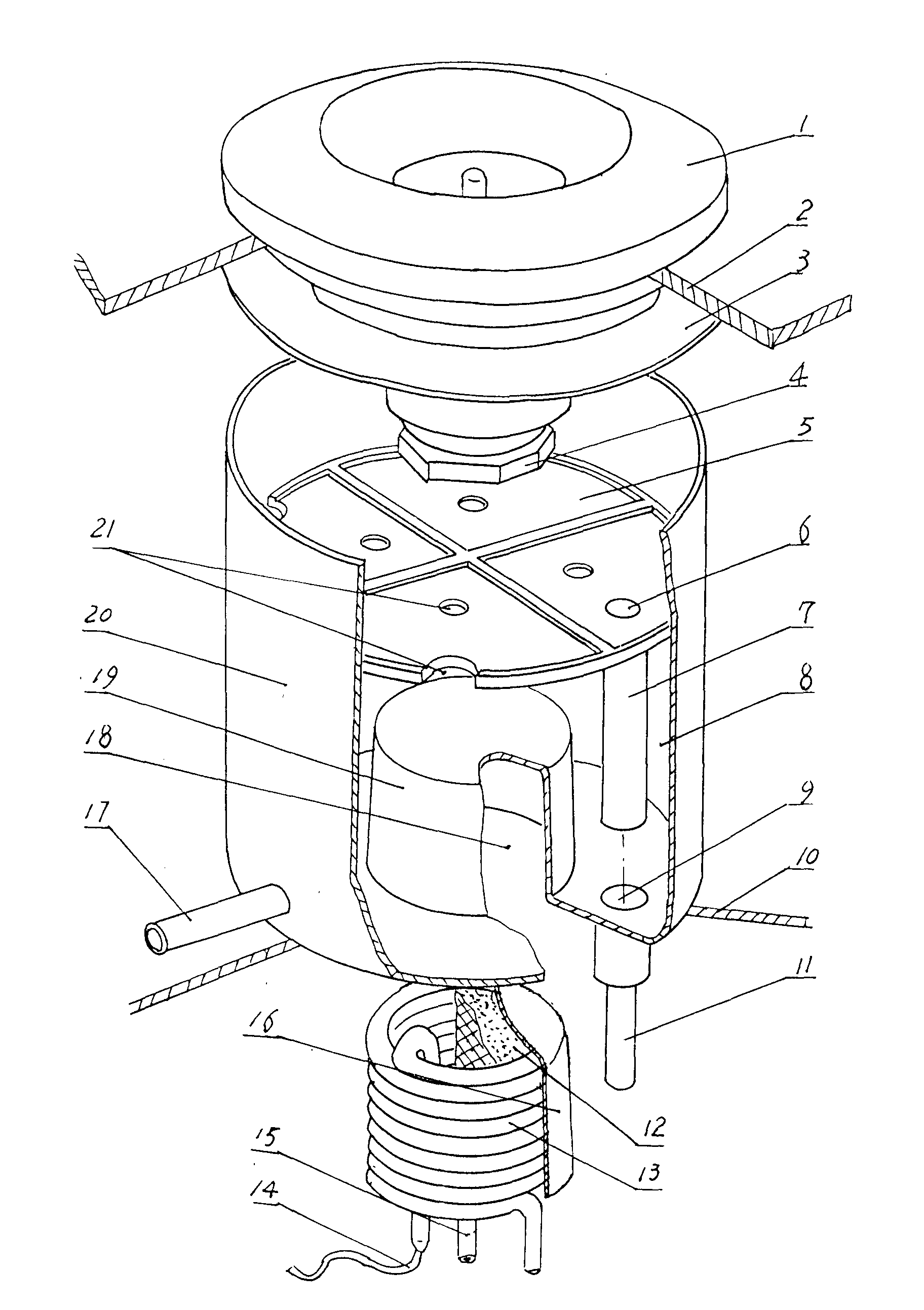
一种饮水机的制冷罐,属于饮水机内的盛水容器。它由罐体20、蒸发管13组成,所述罐体2内增设有一内套19,蒸发管13置于内套19的蒸发管座腔18内。本实用新型由于作了上述设计,能有效地避免冷气损耗而获得良好的制冷效果。


