授权公布号:CN218211434U
一种管道直饮水监测水质计量物联网水表
有效
申请
2022-08-05
申请公布
1970-01-01
授权
2023-01-03
预估到期
2032-08-05
| 申请号 | CN202222053304.7 |
| 申请日 | 2022-08-05 |
| 授权公布号 | CN218211434U |
| 授权公告日 | 2023-01-03 |
| 分类号 | G01F1/075;G01F15/12;G01F15/14;G01F15/063;G01N33/18;G01L11/00 |
| 分类 | 测量;测试; |
| 申请人名称 | 合肥荣事达水工业设备有限责任公司 |
| 申请人地址 | 安徽省合肥市双凤工业区荣事达第六工业园 |
专利法律状态
2023-01-03
授权
状态信息
授权
摘要
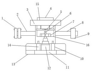
本实用新型公开了一种管道直饮水监测水质计量物联网水表,包括水表外壳与底座,所述水表外壳的一侧连接有直饮水管,所述直饮水管的一侧设置有连接法兰,所述水表外壳的另一侧连接有出水管,所述水表外壳内置有固态水表,所述水表外壳的底端固定安装有底座,所述固态水表的顶端连接有AMR控制器,通过在底座和水表外壳之间安装有水压传感器,水压传感器的一侧设置有水质传感器,水压传感器的信号输出端连接于微型处理器的信号接收端,微型处理器接收到的信号,通过物联网功能传输至用户的手机终端,用户不仅可以实时了解自家用水量多少,还可以了解自家的水质情况,另外采用非接触的磁场检测技术,避免了传统机械/磁簧开关使用寿命和抗震动和碰撞的问题。


