授权公布号:CN205625632U
一种金属棒条作为主动机构的饮水机出水装置
有效
申请
2016-02-26
申请公布
1970-01-01
授权
2016-10-12
预估到期
2026-02-26
| 申请号 | CN201620144473.3 |
| 申请日 | 2016-02-26 |
| 授权公布号 | CN205625632U |
| 授权公告日 | 2016-10-12 |
| 分类号 | A47J31/46 |
| 分类 | 家具;家庭用的物品或设备;咖啡磨;香料磨;一般吸尘器; |
| 申请人名称 | 广东奥马电器股份有限公司 |
| 申请人地址 | 广东省中山市南头镇东福北路54号 |
专利法律状态
2016-10-12
授权
状态信息
授权
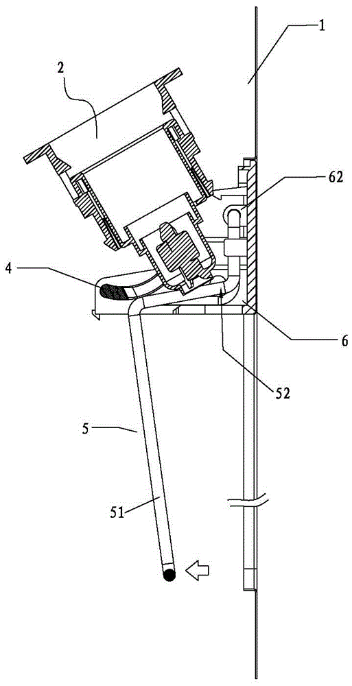
摘要
一种金属棒条作为主动机构的饮水机出水装置,包括面板、出水阀、前开口的座体、从动驱动件和主动件所述主动件包括上开口的框形触发部、位于框形触发部两侧的角形驱动件部和位于角形驱动杆部端部的枢接杆部,所述主动件由金属条构成;所述座架的水平板上有贯通槽;还包括的扭簧和扭簧座,扭簧座包括筒体部、卡座部和扭簧卡槽;由于采用这样的结构,作用于框形触发部,主动件转动,角形驱动件部的水平部驱动从动驱动件,扭簧座转动;出水阀出水;当框形触发部失去作用力,主动件自动复位,操作使用方便。


