授权公布号:CN205119620U
一种防凝露水导槽结构
有效
申请
2015-11-17
申请公布
1970-01-01
授权
2016-03-30
预估到期
2025-11-17
| 申请号 | CN201520912044.1 |
| 申请日 | 2015-11-17 |
| 授权公布号 | CN205119620U |
| 授权公告日 | 2016-03-30 |
| 分类号 | F25D21/14 |
| 分类 | 制冷或冷却;加热和制冷的联合系统;热泵系统;冰的制造或储存;气体的液化或固化; |
| 申请人名称 | 广东奥马电器股份有限公司 |
| 申请人地址 | 广东省中山市南头镇东福北路54号 |
专利法律状态
2016-11-02
专利申请权、专利权的转移
状态信息
专利权的转移;IPC(主分类):F25D21/14;登记生效日:20161010;变更事项:专利权人;变更前:广东奥马电器股份有限公司;变更后:广东奥马冰箱有限公司;变更事项:地址;变更前:528427 广东省中山市南头镇升辉北工业区;变更后:528427 广东省中山市南头镇东福北路54号
2016-03-30
授权
状态信息
授权
摘要
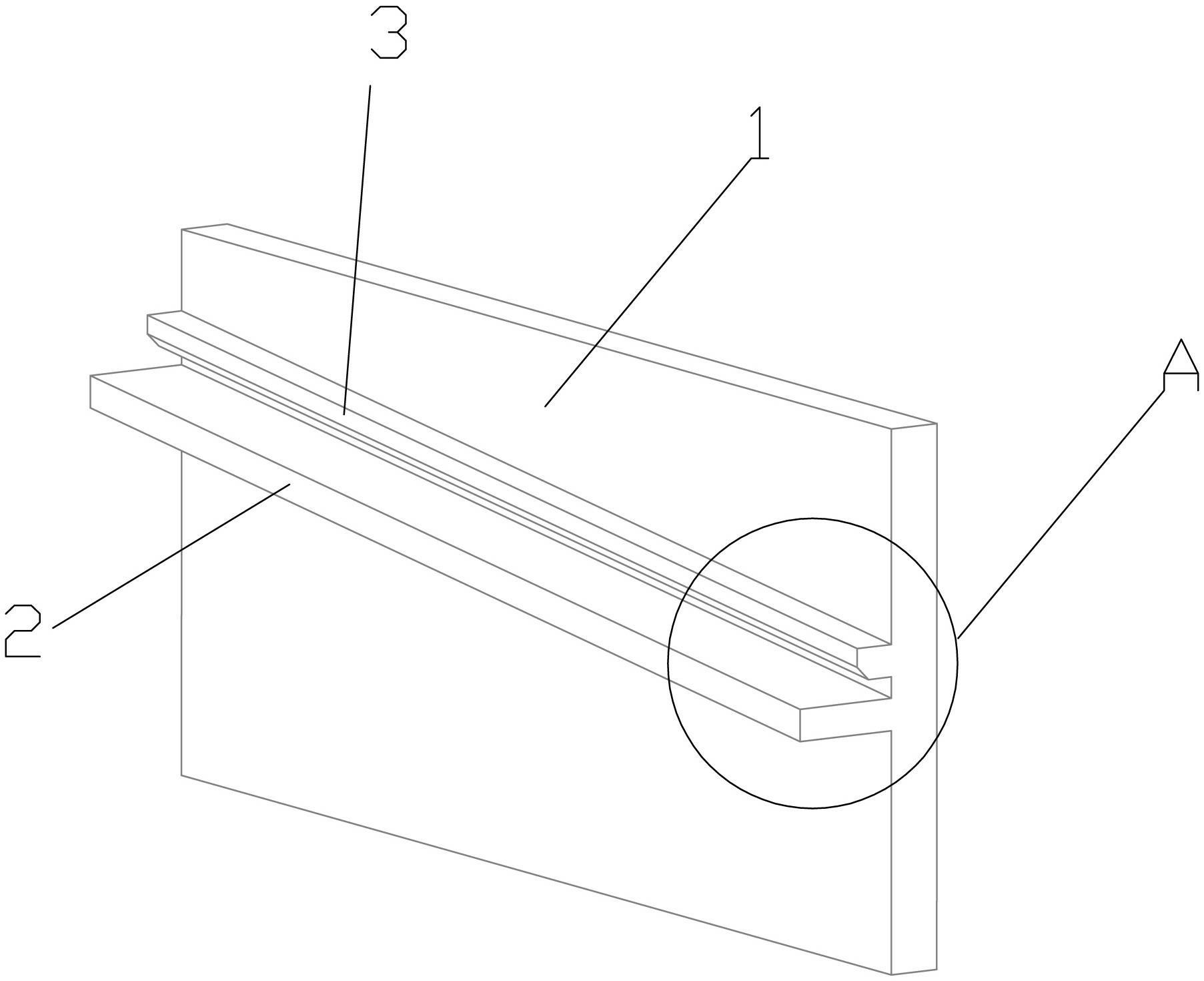
本实用新型公开一种防凝露水导槽结构,包括温控器盒,温控电路板,所述温控电路板安装在温控器盒内的竖板上,在温控电路板上方的竖板侧壁上设置倾斜的横挡板,在横挡板上侧设置与挡条平行的肋筋。本实用新型防凝露水导槽结构通过肋筋与横挡板所形成的导槽结构,为进入温控器盒的凝露水提供一个引水渠道,从而保护了电子元器件不受损害。


