授权公布号:CN112066434B
一种多联式油烟机及其控制方法
有效
申请
2020-09-04
申请公布
2020-12-11
授权
2023-05-26
预估到期
2040-09-04
| 申请号 | CN202010923493.1 |
| 申请日 | 2020-09-04 |
| 申请公布号 | CN112066434A |
| 申请公布日 | 2020-12-11 |
| 授权公布号 | CN112066434B |
| 授权公告日 | 2023-05-26 |
| 分类号 | F24C15/20 |
| 分类 | 供热;炉灶;通风; |
| 申请人名称 | 浙江欧意智能厨房股份有限公司 |
| 申请人地址 | 浙江省金华市义乌市义乌工业园区阳光大道N8号 |
专利法律状态
2023-05-26
授权
状态信息
授权
2020-12-11
公布
状态信息
公布
摘要
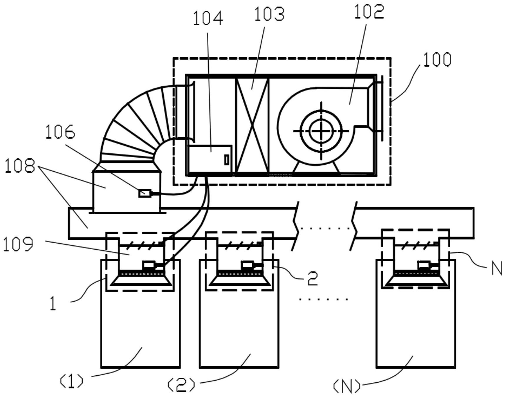
本发明提出了一种多联式油烟机及其控制方法,涉及吸油烟机设备技术领域。多联式油烟机包括:室外油烟主机、多个室内末端机、主路风道、多个支路风道以及检测模组。主控箱可以在获取到有至少有一个厨房中的室内末端机处于工作状态的信息后,控制风机以预设的初始转速开始进行抽风工作,厨房室内的油烟被抽入室内末端机经支路风道汇入主路风道中,后经室外油烟主机处理后排放至大气中。主控箱可以根据检测模组检测的参数对风机及风阀进行控制,使风机以合适的转速进行工作,风阀以合适的开度对风量进行调节,保证有较好的抽油烟的效果的同时节约能耗。同时因室内末端机中没有安装风机,运行时不会产生过大的噪声,保证厨房内环境的舒适性。


