授权公布号:CN106641802B
一种手提式净化负离子灯
有效
申请
2016-12-30
申请公布
2017-05-10
授权
2023-09-01
预估到期
2036-12-30
| 申请号 | CN201611257813.4 |
| 申请日 | 2016-12-30 |
| 申请公布号 | CN106641802A |
| 申请公布日 | 2017-05-10 |
| 授权公布号 | CN106641802B |
| 授权公告日 | 2023-09-01 |
| 分类号 | F21L4/00;F21V14/00;F21V7/04;F21V23/04;F21V33/00;A61L9/22;F21Y115/10N |
| 分类 | 照明; |
| 申请人名称 | 宁波欧琳厨具有限公司 |
| 申请人地址 | 浙江省宁波市鄞州区鄞州投资创业中心祥和东路128号 |
专利法律状态
2023-09-01
授权
状态信息
授权
2017-05-10
公布
状态信息
公布
摘要
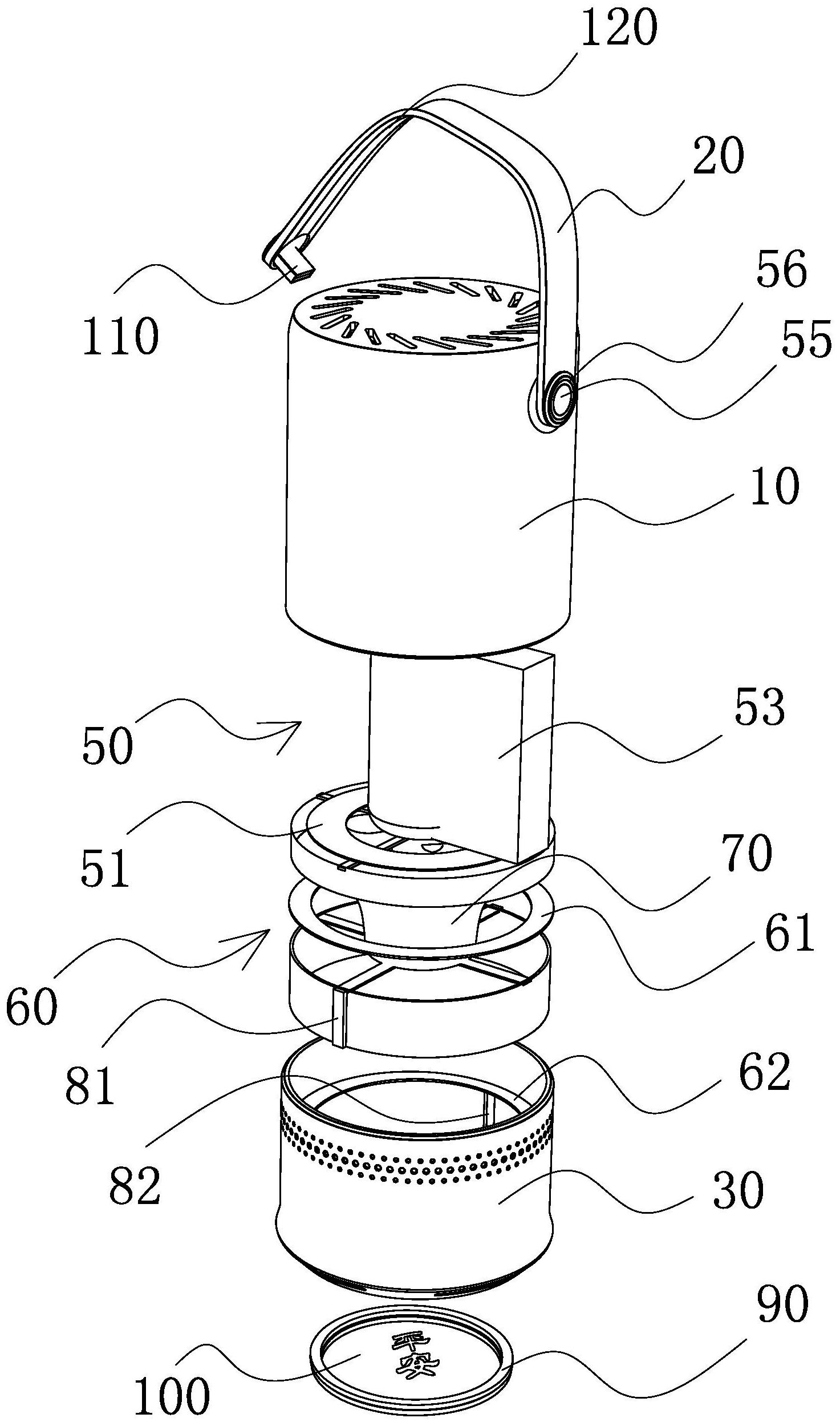
本发明提供了一种手提式净化负离子灯,其包括:主壳体,设有净化出风口;提手,架设在主壳体上方;副壳体,活动安装在主壳体下方,在副壳体上设有与净化出风口联通的进风口,所述副壳体与主壳体同轴设置且二者之间具有发光空隙,所述副壳体可轴向滑移并使该发光空隙扩大或收窄;净化组件,安装于主壳体内且分别与进风口和净化出风口相连,所述净化组件用于净化空气并产生负离子;照明组件,安装于副壳体内且用于照明,所述照明组件发出的光由所述发光空隙射出,所述副壳体相对主壳体滑移时,控制发光空隙的发光强弱,当发光空隙扩大时,发光效果增强。本手提式净化负离子灯具有布局紧凑、功能多样化的优点。


