授权公布号:CN211961831U
一种电烤箱门铰组件结构及电烤箱
有效
申请
2020-04-01
申请公布
1970-01-01
授权
2020-11-20
预估到期
2030-04-01
| 申请号 | CN202020462209.0 |
| 申请日 | 2020-04-01 |
| 授权公布号 | CN211961831U |
| 授权公告日 | 2020-11-20 |
| 分类号 | A47J37/06 |
| 分类 | 家具;家庭用的物品或设备;咖啡磨;香料磨;一般吸尘器; |
| 申请人名称 | 广东索奇实业有限公司 |
| 申请人地址 | 广东省佛山市顺德区容桂街道容边天河工业区星河路2号 |
专利法律状态
2020-11-20
授权
状态信息
授权
摘要
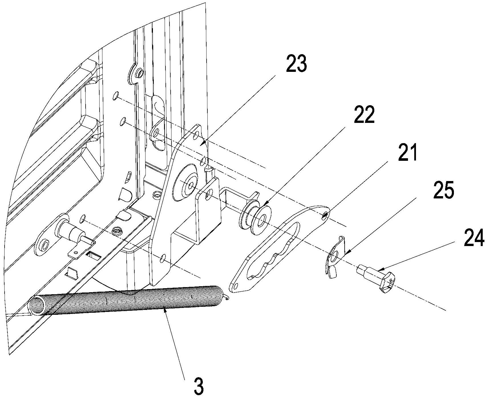
本实用新型提供一种电烤箱门铰组件结构,门铰组件设置在内胆外侧,所述门铰组件包括门铰片、滚轮、滚轮支架、滚轮支撑轴,所述门铰片一端连接弹簧、另一端连接门组件,在开门或关门过程中,所述门铰片在滚轮壁上移动,其特征在于:所述滚轮支架固定在内胆壁上且固定支点为三点或以上,所述固定支点不全在同一直线上;所述滚轮支撑轴穿过滚轮并固定安装在滚轮支架上。本实用新型通过优化滚轮支架的强度,采用三点面固定的方式来提升滚轮支架和侧板支架的整体强度,通过优化结构,提升门铰组件的寿命和强度,降低潜在失效率。


