授权公布号:CN220669552U
一种吸油烟机
有效
申请
2023-08-29
申请公布
1970-01-01
授权
2024-03-26
预估到期
2033-08-29
| 申请号 | CN202322331547.7 |
| 申请日 | 2023-08-29 |
| 授权公布号 | CN220669552U |
| 授权公告日 | 2024-03-26 |
| 分类号 | F24C15/20 |
| 分类 | 供热;炉灶;通风; |
| 申请人名称 | 杭州老板电器股份有限公司 |
| 申请人地址 | 浙江省杭州市余杭区余杭经济开发区临平大道592号 |
专利法律状态
2024-03-26
授权
状态信息
授权
摘要
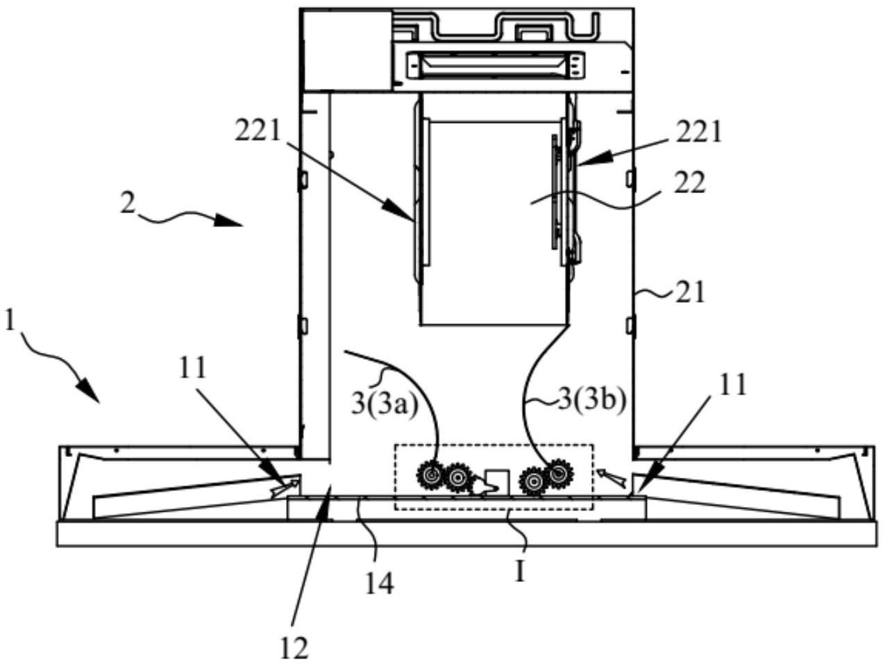
本实用新型属于家电技术领域,具体公开了一种吸油烟机,包括拢烟主体、抽排机构及导流组件。拢烟主体具有两个油烟进口;导流组件包括沿两个导流板,两个导流板均沿前后方向延伸且彼此相背的一面形成导流面,风机的下端位于两个导流板之间,每个导流板均能在导流状态和止挡状态活动切换;当所述导流板处于导流状态时,导流板引导对应侧的所述油烟进口进入的油烟向风机的进风口流动;当所述导流板处于所述止挡状态时,所述导流板的上端靠近所述风箱的对应侧壁,以止挡油烟在所述进风口和对应侧的油烟进口之间流动。本实用新型公开的吸油烟机,能够提高吸油烟机在单侧炉头使用时的抽排效果,提升吸油烟机的使用体验。


