授权公布号:CN220669538U
一种吸油烟机
有效
申请
2023-07-18
申请公布
1970-01-01
授权
2024-03-26
预估到期
2033-07-18
| 申请号 | CN202321888977.2 |
| 申请日 | 2023-07-18 |
| 授权公布号 | CN220669538U |
| 授权公告日 | 2024-03-26 |
| 分类号 | F24C15/20 |
| 分类 | 供热;炉灶;通风; |
| 申请人名称 | 杭州老板电器股份有限公司 |
| 申请人地址 | 浙江省杭州市余杭区余杭经济开发区临平大道592号 |
专利法律状态
2024-03-26
授权
状态信息
授权
摘要
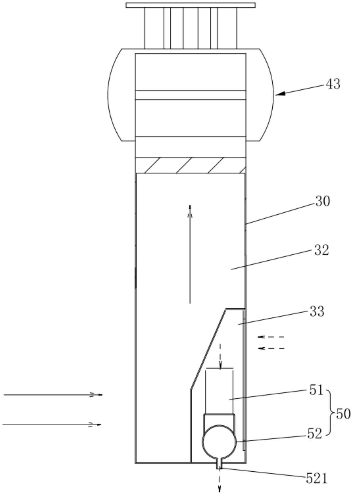
本实用新型涉及厨房电器技术领域,尤其涉及一种吸油烟机,其包括集烟罩和风幕组件,集烟罩在工作状态时位于灶头的一侧,且其长度方向与吸油烟机的前后方向一致;风幕组件能够在集烟罩的下端形成沿集烟罩的长度方向延伸的风幕。当集烟罩处于工作状态时,位于灶头的一侧,且集烟罩的长度方向与吸油烟机的前后方向一致,即集烟罩遮挡于灶头的侧面,能够使负压集中在正在使用的灶头的上方,减小负压范围,提升油烟吸力,防止油烟逃逸,提升了吸烟效果。另外,还包括风幕组件,风幕组件能够在集烟罩的下端形成沿集烟罩的长度方向延伸的风幕。通过设置风幕组件,能够进一步提升吸油烟效果。


