授权公布号:CN209031532U
一种置物橱柜板组件
有效
申请
2017-12-28
申请公布
1970-01-01
授权
2019-06-28
预估到期
2027-12-28
| 申请号 | CN201721924966.X |
| 申请日 | 2017-12-28 |
| 授权公布号 | CN209031532U |
| 授权公告日 | 2019-06-28 |
| 分类号 | A47B81/00;A47B96/02;A47B97/00;A47B87/00 |
| 分类 | 家具;家庭用的物品或设备;咖啡磨;香料磨;一般吸尘器; |
| 申请人名称 | 广东韩丽家居集团股份有限公司 |
| 申请人地址 | 广东省佛山市高明区杨和镇杨梅西区 |
专利法律状态
2022-03-25
专利权质押合同登记的生效、变更及注销
状态信息
专利权质押合同登记的生效;IPC(主分类):A47B81/00;登记号:Y2022980002290;登记生效日:20220308;出质人:广东韩丽家居集团股份有限公司;质权人:广东耀达融资租赁有限公司;实用新型名称:一种置物橱柜板组件;申请日:20171228;授权公告日:20190628
2022-03-22
专利实施许可合同备案的生效、变更及注销
状态信息
专利实施许可合同备案的生效;IPC(主分类):A47B81/00;合同备案号:X2022980002164;让与人:广东韩丽家居集团股份有限公司;受让人:广东耀达融资租赁有限公司;实用新型名称:一种置物橱柜板组件;申请日:20171228;授权公告日:20190628;许可种类:独占许可;备案日期:20220307
2019-06-28
授权
状态信息
授权
摘要
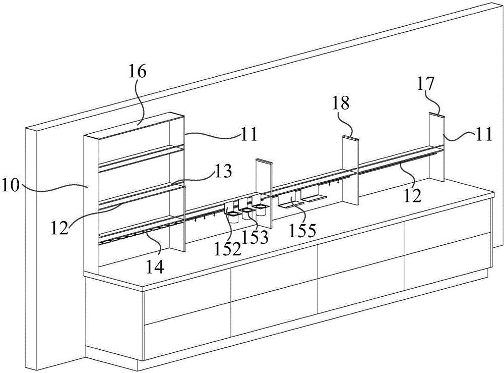
本实用新型提供一种置物橱柜板组件,包括第一侧板、第二侧板和至少一个层板,第一侧板和第二侧板沿垂直于水平方向相向放置,至少一个层板水平放置于第一侧板和第二侧板之间,并分别连接第一侧板和第二侧板,第一侧板和第二侧板之间还固定连接有用于放置不同挂件的至少一个挂杆,挂杆平行设置于层板的上侧和/或下侧。该置物橱柜板组件可安装于橱柜的上、下柜之间,灵活选择不同的挂件,能更好的利用空间,方便实用。


