授权公布号:CN215737841U
具有升降式酒柜的开放式橱柜
有效
申请
2021-03-30
申请公布
1970-01-01
授权
2022-02-08
预估到期
2031-03-30
| 申请号 | CN202120672328.3 |
| 申请日 | 2021-03-30 |
| 授权公布号 | CN215737841U |
| 授权公告日 | 2022-02-08 |
| 分类号 | A47B83/04;A47B77/02;A47B51/00;A47B69/00 |
| 分类 | 家具;家庭用的物品或设备;咖啡磨;香料磨;一般吸尘器; |
| 申请人名称 | 广东韩丽家居集团股份有限公司 |
| 申请人地址 | 广东省佛山市高明区杨和镇杨梅西区 |
专利法律状态
2023-12-12
专利权质押合同登记的生效、变更及注销
状态信息
专利权质押合同登记的生效;IPC(主分类):A47B 83/04;专利号:ZL2021206723283;登记号:Y2023980067413;登记生效日:20231124;出质人:广东韩丽家居集团股份有限公司;质权人:广东耀达融资租赁有限公司;实用新型名称:具有升降式酒柜的开放式橱柜;申请日:20210330;授权公告日:20220208
2023-12-12
专利实施许可合同备案的生效、变更及注销
状态信息
专利实施许可合同备案的生效;IPC(主分类):A47B 83/04;专利申请号:2021206723283;专利号:ZL2021206723283;合同备案号:X2023980047816;让与人:广东韩丽家居集团股份有限公司;受让人:广东耀达融资租赁有限公司;实用新型名称:具有升降式酒柜的开放式橱柜;申请日:20210330;授权公告日:20220208;许可种类:独占许可;备案日期:20231122
2022-02-08
授权
状态信息
授权
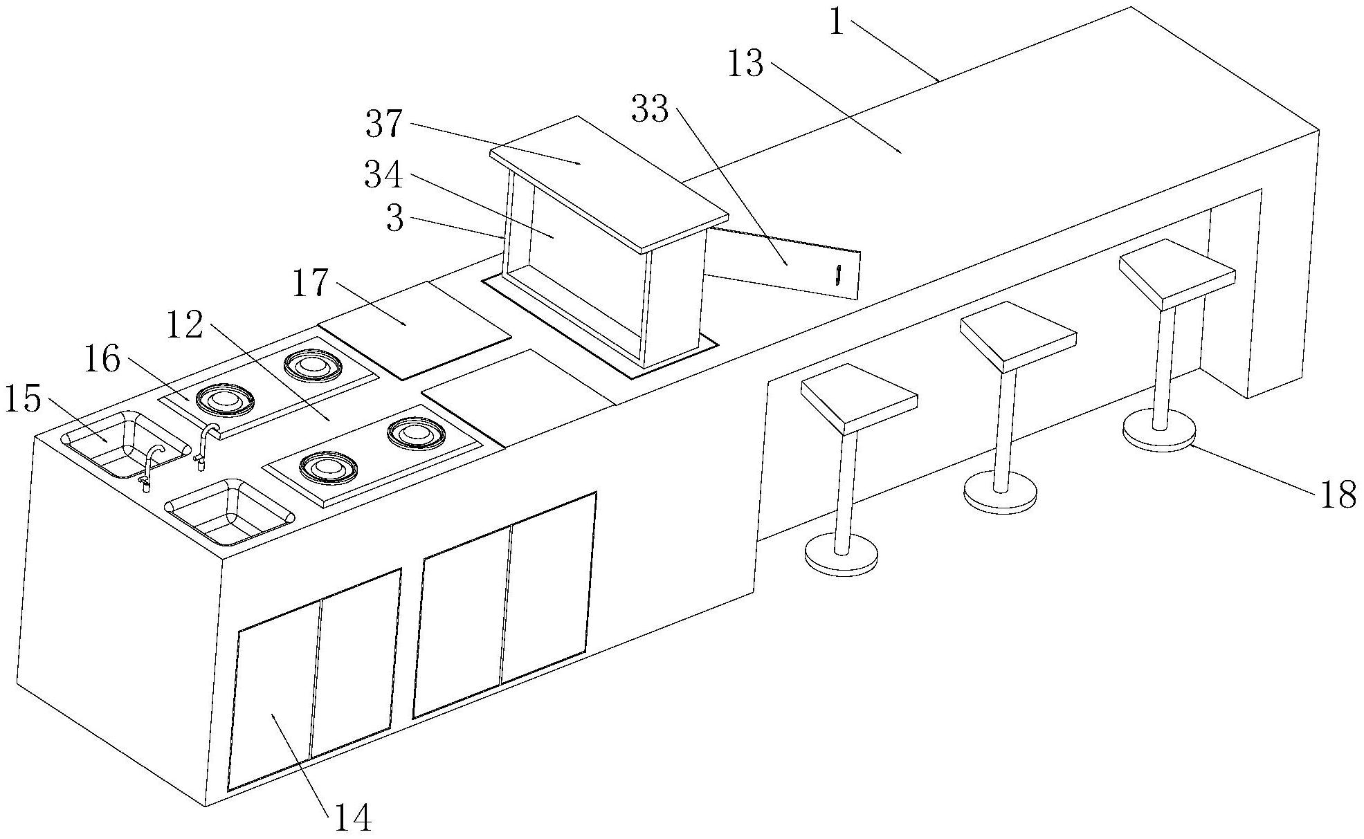
摘要
本实用新型公开了具有升降式酒柜的开放式橱柜,包括厨桌、升降机构和酒柜;所述厨桌设有沿铅垂方向延伸的容置腔,所述升降机构容置在所述容置腔内,并驱动连接所述酒柜,所述酒柜位于所述升降机构的正上方,所述升降机构用于驱使所述酒柜进行升降运动,从而使得酒柜在收容于容置腔内的收纳状态以及升起至容置腔外的使用状态之间切换。其在充分利用橱柜空间的基础上,增设酒柜,从而提高取酒效率,进而提高饮酒体验效果。


