授权公布号:CN217715265U
一种多功能加湿桌面扇
有效
申请
2022-04-29
申请公布
1970-01-01
授权
2022-11-01
预估到期
2032-04-29
| 申请号 | CN202221032719.X |
| 申请日 | 2022-04-29 |
| 授权公布号 | CN217715265U |
| 授权公告日 | 2022-11-01 |
| 分类号 | F24F6/12;F04D29/60;F04D25/08 |
| 分类 | 供热;炉灶;通风; |
| 申请人名称 | 宁波卡帝亚电器有限公司 |
| 申请人地址 | 浙江省宁波市慈溪市观海卫镇师东村 |
专利法律状态
2022-11-01
授权
状态信息
授权
摘要
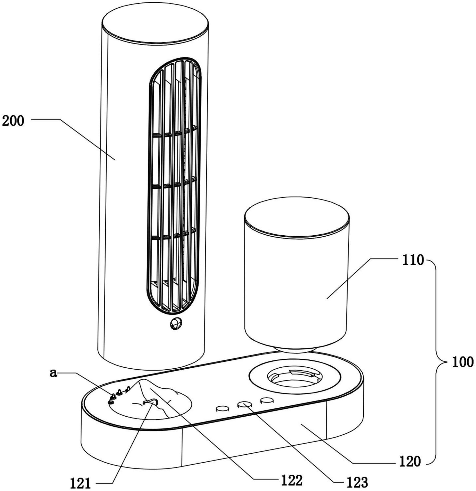
本实用新型涉及一种多功能加湿桌面扇,包括加湿主体和风扇主体,加湿主体上设有能够与风扇主体连接的安装部位;风扇主体上设有与加湿孔连通的出雾通道;风扇主体不安装时,加湿主体单独工作,从安装部位喷出蒸汽;风扇主体安装到加湿主体上,风扇主体能够单独工作或者和加湿主体同时工作。本实用新型的有益效果在于:1.与现有技术相比,本实用新型将风扇主体可拆卸安装到加湿主体上,可以单独使用加湿器,也可以作为风扇主体的加湿功能使用,满足不同环境下的不同需求;2.将风扇主体和底座之间设置快插结构,使风扇主体和底座的连接之间不设置导线,避免了导线收纳不便和连接不稳定的问题。


