授权公布号:CN1947633B
可调整倾斜状态的煎烤器
有效
申请
2005-10-14
申请公布
2007-04-18
授权
2010-11-03
预估到期
2025-10-14
| 申请号 | CN200510044963.2 |
| 申请日 | 2005-10-14 |
| 申请公布号 | CN1947633A |
| 申请公布日 | 2007-04-18 |
| 授权公布号 | CN1947633B |
| 授权公告日 | 2010-11-03 |
| 分类号 | A47J37/06;A47J37/00 |
| 分类 | 家具;家庭用的物品或设备;咖啡磨;香料磨;一般吸尘器; |
| 申请人名称 | 厦门灿坤实业股份有限公司 |
| 申请人地址 | 福建省漳州市台商投资区灿坤工业园 |
专利法律状态
2013-01-16
专利权人的姓名或者名称、地址的变更
状态信息
专利权人的姓名或者名称、地址的变更;IPC(主分类):A47J37/06;变更事项:专利权人;变更前:厦门灿坤实业股份有限公司;变更后:厦门灿坤实业股份有限公司;变更事项:地址;变更前:361006 福建省厦门市湖里工业区兴隆路88号;变更后:363000 福建省漳州市台商投资区灿坤工业园
2010-11-03
授权
状态信息
授权
2008-09-24
实质审查的生效
状态信息
实质审查的生效
2007-04-18
公布
状态信息
公布
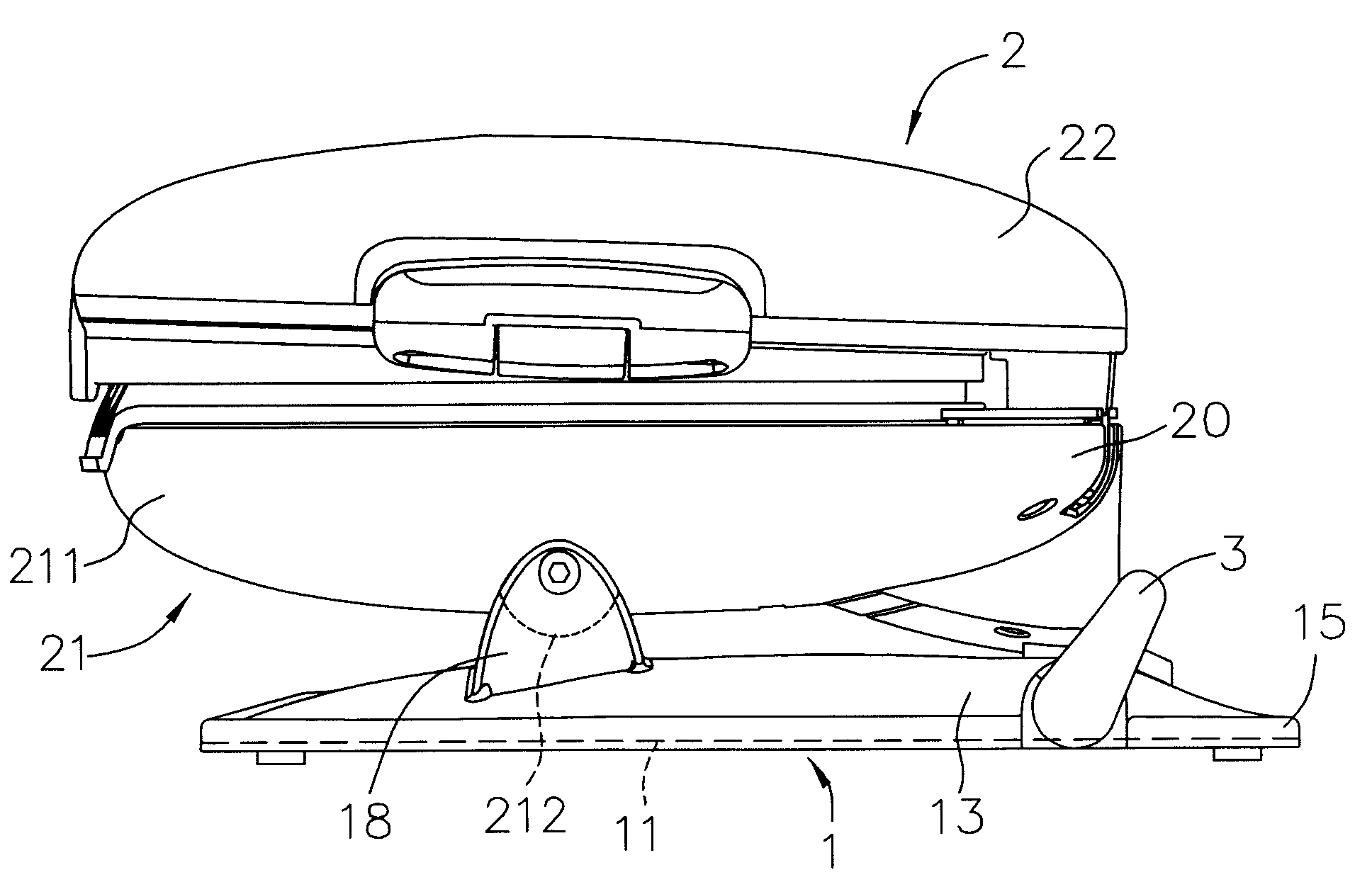
摘要
本发明公开了一种可调整倾斜状态的煎烤器,包含一底座、一可枢摆地架设在底座上的烤盘单元,以及一架设在底座及烤盘单元间的顶撑机构,该烤盘单元具有位于枢设部位相反侧的一第一端及一第二端,而该顶撑机构包括一可被操控旋转的转控杆,上述转控杆具有一段枢设在烤盘单元的第二端上的弯控部。当弯控部在一第一位置时,该烤盘单元的第一端和第二端之间有个高度差,以便使烘烤食物产生的流体能够往下流,而当弯控部转换到一第二位置时,该烤盘单元的第一端及第二端大致等高,而使得流体能够均匀地分布在食物上。


