授权公布号:CN2548523
一种烧烤器
有效
申请
2002-06-27
申请公布
1970-01-01
授权
2003-05-07
预估到期
2012-06-27
| 申请号 | CN02267940.5 |
| 申请日 | 2002-06-27 |
| 授权公布号 | CN2548523 |
| 授权公告日 | 2003-05-07 |
| 分类号 | A47J37/00 |
| 分类 | 家具;家庭用的物品或设备;咖啡磨;香料磨;一般吸尘器; |
| 申请人名称 | 厦门灿坤实业股份有限公司 |
| 申请人地址 | 福建省厦门市湖里工业区兴隆路88号 |
专利法律状态
2021-08-03
授权
状态信息
授权
2012-09-05
专利权的终止
状态信息
专利权有效期届满;IPC(主分类):A47J 37/00;申请日:20020627;授权公告日:20030507期满;终止日期:20120627
2003-05-07
实用新型专利权授予
状态信息
授权
摘要
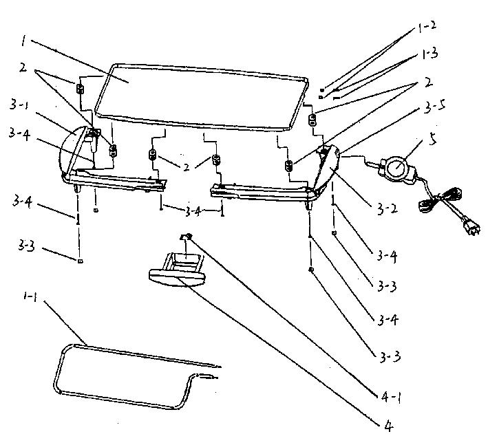
本实用新型公开了一种电热食品烧烤器,包括有下述组合:一烧烤面为斜面,在背对烧烤面的另一面设有一电热管的烤盘;一与烤盘之间有隔热支架,通过与烤盘的锁附用于支撑烤盘的底座;一依附于底座下方,可取出的储油盒;一可拆卸的感温棒。本实用新型结构简单、使用方便、可直接投入洗碗机中清洗、易于移动、不污染环境。


