授权公布号:CN101118029B
一种可产生高压流体之容器的安全栓盖装置
有效
申请
2006-08-02
申请公布
2008-02-06
授权
2011-04-20
预估到期
2026-08-02
| 申请号 | CN200610069807.6 |
| 申请日 | 2006-08-02 |
| 申请公布号 | CN101118029A |
| 申请公布日 | 2008-02-06 |
| 授权公布号 | CN101118029B |
| 授权公告日 | 2011-04-20 |
| 分类号 | F17C13/04 |
| 分类 | 气体或液体的贮存或分配; |
| 申请人名称 | 厦门灿坤实业股份有限公司 |
| 申请人地址 | 福建省漳州市台商投资区灿坤工业园 |
专利法律状态
2013-01-16
专利权人的姓名或者名称、地址的变更
状态信息
专利权人的姓名或者名称、地址的变更;IPC(主分类):F17C13/04;变更事项:专利权人;变更前:厦门灿坤实业股份有限公司;变更后:厦门灿坤实业股份有限公司;变更事项:地址;变更前:361006 福建省厦门市湖里工业区兴隆路88号;变更后:363000 福建省漳州市台商投资区灿坤工业园
2011-04-20
授权
状态信息
授权
2009-09-30
实质审查的生效
状态信息
实质审查的生效
2008-02-06
公布
状态信息
公布
摘要
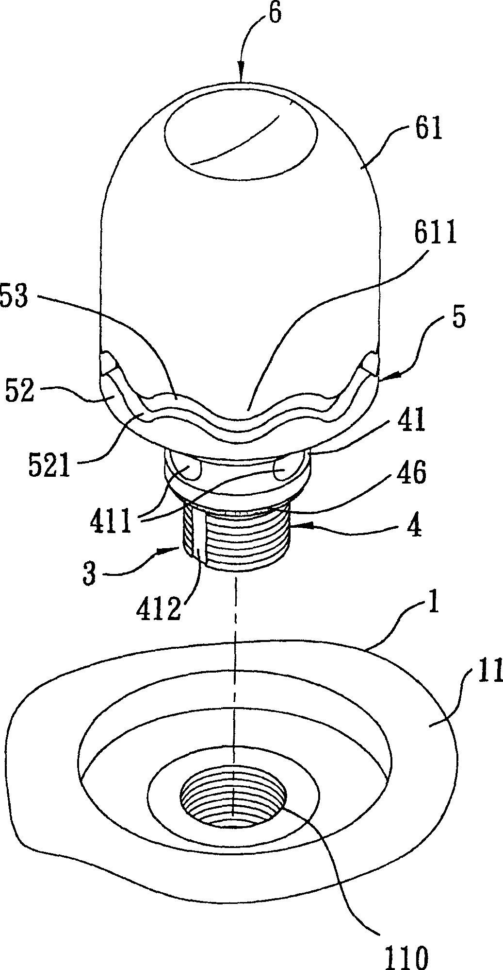
一种可产生高压流体之容器的安全栓盖装置,包含一锁接头与一安全锁盖,及一组装于锁接头与安全锁盖间之复位件。该锁接头包括一气密螺设于容器之开孔中的闭锁机构,及一与闭锁机构组接之卡扣机构,该卡扣机构具有一组接管,及一突设于组接管外周面的卡扣环。当安全锁盖之盖本体被下压而与卡扣环卡接时,该盖本体可连动闭锁机构相对壳体转动而脱离该开孔。透过卡扣机构与安全锁盖可相卡接的简单结构设计,及复位件的设置,可使安全栓盖装置的制造组装更为简单。


