授权公布号:CN220134246U
一种换气扇的抗风压检测装置
有效
申请
2023-04-06
申请公布
1970-01-01
授权
2023-12-05
预估到期
2033-04-06
| 申请号 | CN202320746733.4 |
| 申请日 | 2023-04-06 |
| 授权公布号 | CN220134246U |
| 授权公告日 | 2023-12-05 |
| 分类号 | F04D27/00;F04D29/64 |
| 分类 | 液体变容式机械;液体泵或弹性流体泵; |
| 申请人名称 | 广东绿岛风空气系统股份有限公司 |
| 申请人地址 | 广东省江门市台山台城南兴路15号 |
专利法律状态
2023-12-05
授权
状态信息
授权
摘要
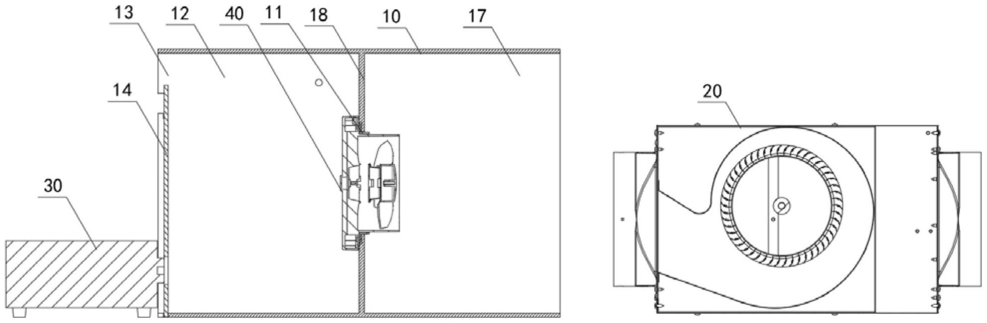
本实用新型提供一种换气扇的抗风压检测装置,包括:安装架、吹风机和烟雾发生器;所述安装架上设置有供换气扇安装的通口;所述吹风机和所述烟雾发生器分别设置在所述安装架的相对两侧,所述吹风机能够朝向所述安装架吹风,所述烟雾发生器能够向所述安装架输送烟雾。相对于现有技术,本实用新型的换气扇的抗风压检测装置通过换气扇在吹风机相互对抗的情况下,根据烟雾是否能够被换气扇从安装架远离吹风机的一侧排放至靠近吹风机的一侧,从而判断换气扇是否能够抗风压。


