授权公布号:CN220135701U
一种百叶装置和换气扇
有效
申请
2023-06-02
申请公布
1970-01-01
授权
2023-12-05
预估到期
2033-06-02
| 申请号 | CN202321404372.1 |
| 申请日 | 2023-06-02 |
| 授权公布号 | CN220135701U |
| 授权公告日 | 2023-12-05 |
| 分类号 | F24F13/14;F24F7/007 |
| 分类 | 供热;炉灶;通风; |
| 申请人名称 | 广东绿岛风空气系统股份有限公司 |
| 申请人地址 | 广东省江门市台山台城南兴路15号 |
专利法律状态
2023-12-05
授权
状态信息
授权
摘要
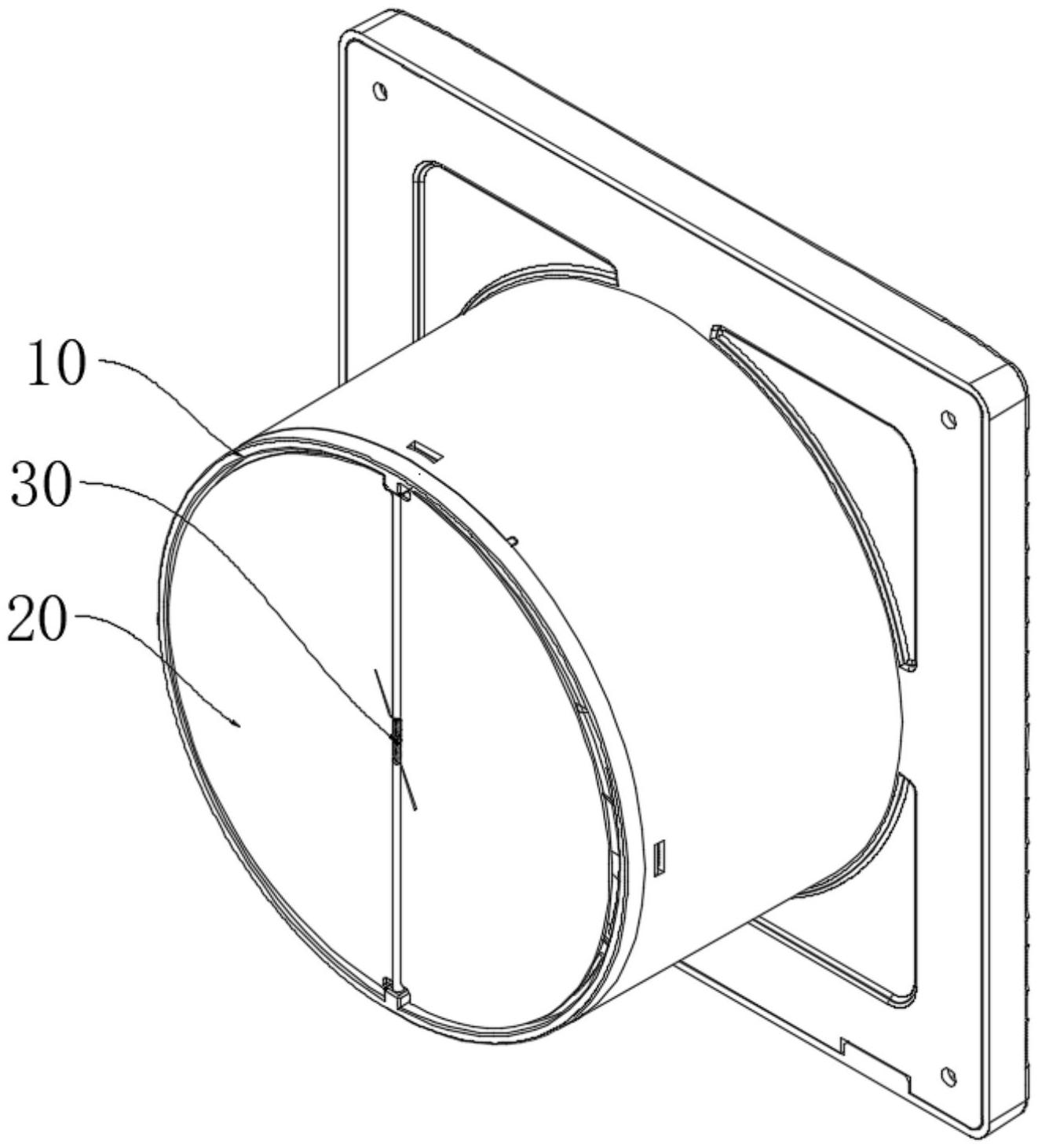
本实用新型提供一种百叶装置和换气扇,百叶装置包括:框架、两个百叶和弹簧;所述框架上设置有风口,所述两个百叶转动设置在所述风口处;所述弹簧包括弹性圈体、固定部以及两个扭臂,所述两个扭臂分别抵接在所述两个百叶上,当所述两个百叶朝向彼此转动时,所述两个扭臂在所述两个百叶的驱动下相互靠近,并且使得所述弹性圈体产生弹性形变。相对于现有技术,本实用新型的百叶装置可以较为稳定且方便地固定弹簧,结构简单,安装便捷,提高了生产效率,并且仅通过单个弹簧的扭臂来抵接两个百叶,使得百叶能够在风压下带动扭臂转动的角度更大,使得百叶在打开换气扇的风口时能够张开更大的角度,使得风口被充分打开而不会过于遮挡风口而影响出风。


