授权公布号:CN219607314U
空气加湿净化器
有效
申请
2022-11-29
申请公布
1970-01-01
授权
2023-08-29
预估到期
2032-11-29
| 申请号 | CN202223186149.2 |
| 申请日 | 2022-11-29 |
| 授权公布号 | CN219607314U |
| 授权公告日 | 2023-08-29 |
| 分类号 | F24F8/80;F24F8/108;F24F13/28;F24F6/02;F24F13/00;C02F1/50 |
| 分类 | 供热;炉灶;通风; |
| 申请人名称 | 深圳市联创科技集团有限公司 |
| 申请人地址 | 广东省深圳市龙岗区南湾街道布澜路联创科技园 |
专利法律状态
2023-08-29
授权
状态信息
授权
摘要
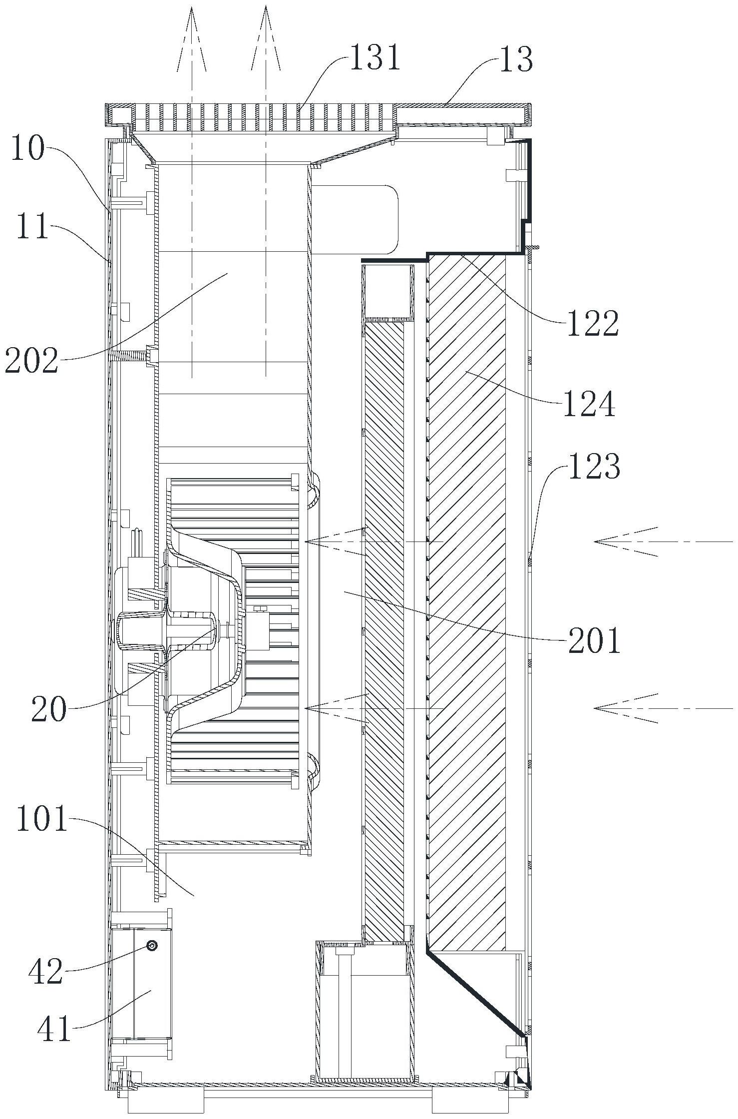
本申请属于空气净化器技术领域,本申请提供了一种空气加湿净化器,包括风动装置设置在安装腔中,进气口与进风口相互连通以形成进气通道,排气口与出风口相互连通以形成排气通道;蒸发装置设置在安装腔中,蒸发装置包括有蒸发组件和水箱,蒸发组件设置在进气通道或排气通道中,水箱与蒸发组件连接,水箱能够为蒸发组件提供待蒸发的液体;臭氧发生装置与蒸发组件连接,臭氧发生装置能够为蒸发组件内待蒸发的液体提供臭氧。本申请提供的空气加湿净化器,能够通过臭氧发生装置为蒸发组件提供臭氧,以对蒸发组件中的待蒸发液体进行杀菌消毒,避免带细菌和病毒的液体会转化成水蒸气排放到周围环境中,导致周围环境造成二次污染。


