授权公布号:CN213362728U
一种加湿器定量添水装置
失效
申请
2020-09-24
申请公布
1970-01-01
授权
2021-06-04
预估到期
2030-09-24
| 申请号 | CN202022120431.5 |
| 申请日 | 2020-09-24 |
| 授权公布号 | CN213362728U |
| 授权公告日 | 2021-06-04 |
| 分类号 | F24F6/12;F24F13/28;C02F9/10 |
| 分类 | 供热;炉灶;通风; |
| 申请人名称 | 合肥荣事达小家电有限公司 |
| 申请人地址 | 安徽省合肥市双凤工业区荣事达第六工业园 |
专利法律状态
2023-10-10
专利权的终止
状态信息
未缴年费专利权终止;IPC(主分类):F24F6/12;专利号:ZL2020221204315;申请日:20200924;授权公告日:20210604;终止日期:
2021-06-04
授权
状态信息
授权
摘要
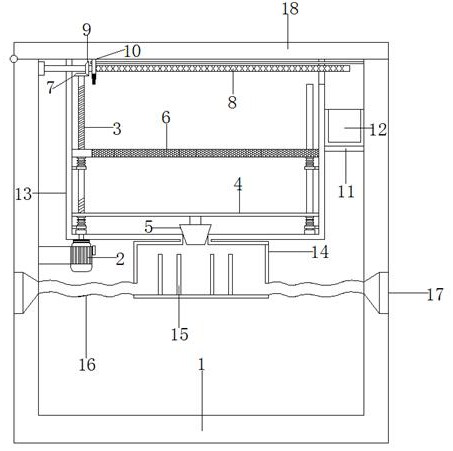
本实用新型公开了一种加湿器定量添水装置,涉及定量添水技术领域,针对目前的加湿器不方便进行定量加水,还不方便对清水进行过滤和杀菌的问题,现提出如下方案,包括箱体,所述箱体的左侧内壁固定连接有第一固定杆,所述第一固定杆的右端固定连接有电机,所述电机的输出轴固定连接有螺杆,所述螺杆的外部螺纹套设有升降板,所述升降板的底部固定连接有活塞,所述螺杆的外部螺纹套设有过滤板,所述螺杆的顶端固定连接有第一锥齿轮,所述箱体的左侧内壁固定连接有第一轴承。本实用新型不仅方便了加湿器的定量添水,还方便了对清水进行过滤和杀菌,以及方便了对过滤板进行清理,具有多种用途,适合市场推广。


