授权公布号:CN213362929U
一种带裙边式折流板的干式蒸发器
有效
申请
2020-10-28
申请公布
1970-01-01
授权
2021-06-04
预估到期
2030-10-28
| 申请号 | CN202022433575.6 |
| 申请日 | 2020-10-28 |
| 授权公布号 | CN213362929U |
| 授权公告日 | 2021-06-04 |
| 分类号 | F25B39/02;F28F9/24 |
| 分类 | 制冷或冷却;加热和制冷的联合系统;热泵系统;冰的制造或储存;气体的液化或固化; |
| 申请人名称 | 昆山台佳机电有限公司 |
| 申请人地址 | 江苏省苏州市玉山镇城北萧林路民营科技工业园 |
专利法律状态
2021-06-04
授权
状态信息
授权
摘要
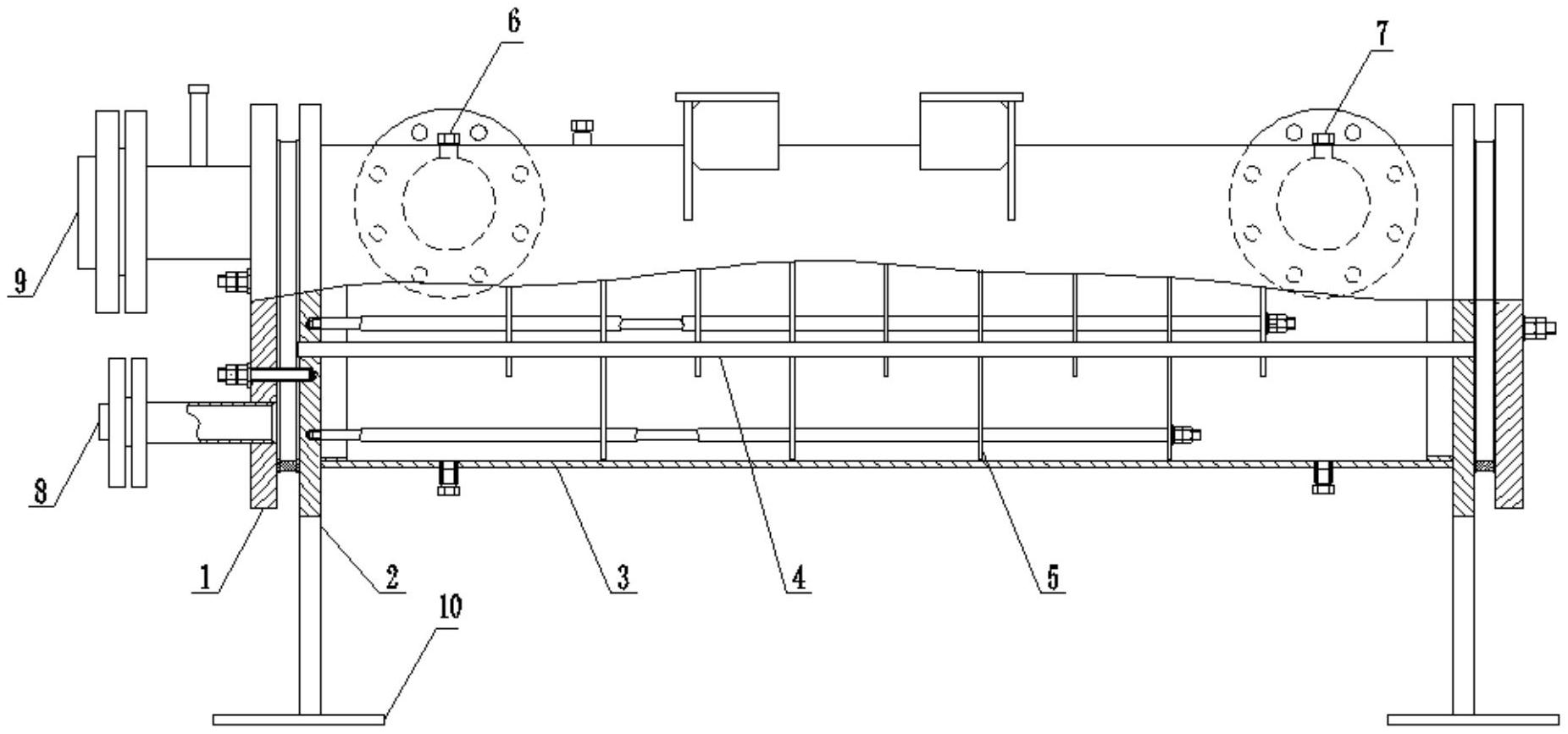
本实用新型公开的属于空调配件技术领域,具体为一种带裙边式折流板的干式蒸发器,包括端盖,管板,筒体,蒸发管和折流板,所述端盖数量为两个,两个所述端盖位置左右对应,所述端盖相视面一侧均通过螺栓连接有管板,左右两侧的所述管板之间固定连接有筒体,所述筒体内腔通过螺栓连接有蒸发管,所述蒸发管外安装有折流板,所述折流板呈上下交叉分布,所述折流板外边缘设置有裙边,左侧的所述端盖下侧设置有制冷剂入口,左侧的所述端盖上侧设置有制冷剂出口,本实用新型通过裙边的设置,控制和减小折流板与筒体的间隙,壳程传热膜系数大幅度提高,从而使得换热效率得到了很大的提高,结构合理,延长了干式蒸发器的使用寿命。


