授权公布号:CN220443447U
一种过滤器安装结构
有效
申请
2023-07-24
申请公布
1970-01-01
授权
2024-02-06
预估到期
2033-07-24
| 申请号 | CN202321940365.3 |
| 申请日 | 2023-07-24 |
| 授权公布号 | CN220443447U |
| 授权公告日 | 2024-02-06 |
| 分类号 | B01D46/88;F24F13/28 |
| 分类 | 一般的物理或化学的方法或装置; |
| 申请人名称 | 南京天加环境科技有限公司 |
| 申请人地址 | 江苏省南京市经济技术开发区恒业路6号 |
专利法律状态
2024-02-06
授权
状态信息
授权
摘要
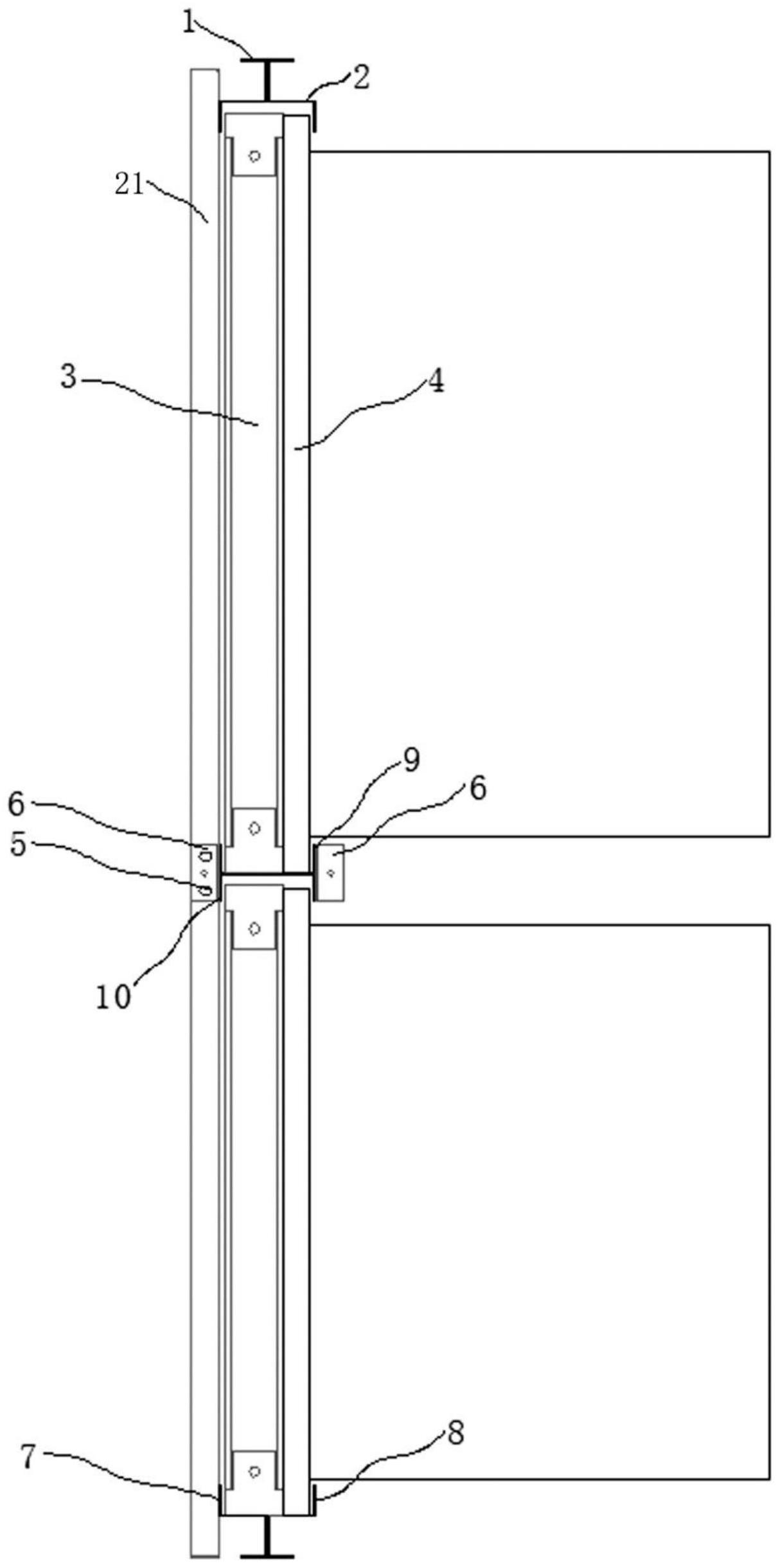
本实用新型公开了一种过滤器安装结构,包括由上至下依次固定于箱体内的过滤器顶部滑道、过滤器中部滑道和过滤器底部滑道,以及分别与过滤器中部滑道和箱体连接的过滤器支撑,所述过滤器中部滑道分别与过滤器顶部滑道和过滤器底部滑道围成供过滤器侧向移动的滑动安装空间。本实用新型所述过滤器安装结构,全部采用滑道式结构,安装方便,省事省力;过滤器可侧向安装和更换,人员无需进入空调箱体内部,操作简单;本实用新型所述滑道结构均采用钣金工艺,结构简单,加工方便,节省成本;本实用新型针对需要在上风侧安装和更换过滤器的场合,人员可从过滤器上风侧的缺口进入操作,结构兼容性好。


