授权公布号:CN220552083U
箱体
有效
申请
2023-06-30
申请公布
1970-01-01
授权
2024-03-01
预估到期
2033-06-30
| 申请号 | CN202321713034.6 |
| 申请日 | 2023-06-30 |
| 授权公布号 | CN220552083U |
| 授权公告日 | 2024-03-01 |
| 分类号 | F24F13/20 |
| 分类 | 供热;炉灶;通风; |
| 申请人名称 | 浙江盾安机电科技有限公司 |
| 申请人地址 | 浙江省绍兴市诸暨市店口镇工业区 |
专利法律状态
2024-03-01
授权
状态信息
授权
摘要
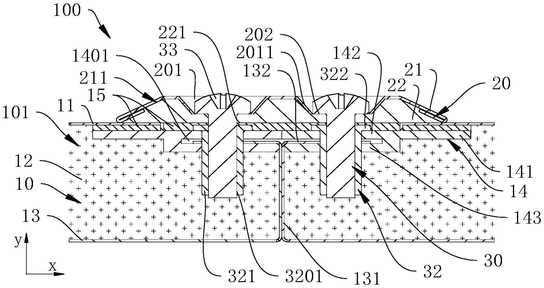
本申请提供一种箱体,涉及连接技术领域。箱体包括多个连接板,多个连接板围设形成箱体的容纳空间;箱体还包括连接结构和锁紧结构,连接结构构造有定位孔,锁紧结构穿过定位孔并与连接板连接;以位于同一平面内的任意相邻两个连接板为第一连接板,连接结构压设于相邻两个第一连接板,每个第一连接板对应至少一个定位孔,每个锁紧结构一端穿过对应的定位孔与对应的第一连接板连接,另一端压紧连接结构;以互相垂直或趋于垂直的任意相邻两个连接板为第二连接板,连接结构至少部分安装于其中一第二连接板内,锁紧结构一端通过定位孔穿过连接结构并连接于另一第二连接板,锁紧结构的另一端压紧连接结构。如此,连接结构简单,耗材少,利于降低成本。


