授权公布号:CN220135719U
换热器
有效
申请
2023-04-07
申请公布
1970-01-01
授权
2023-12-05
预估到期
2033-04-07
| 申请号 | CN202320813211.1 |
| 申请日 | 2023-04-07 |
| 授权公布号 | CN220135719U |
| 授权公告日 | 2023-12-05 |
| 分类号 | F24F13/30;F25B39/00;F24F5/00;F24F13/08;F24F13/32 |
| 分类 | 供热;炉灶;通风; |
| 申请人名称 | 浙江盾安机电科技有限公司 |
| 申请人地址 | 浙江省绍兴市诸暨市店口镇工业区 |
专利法律状态
2023-12-05
授权
状态信息
授权
摘要
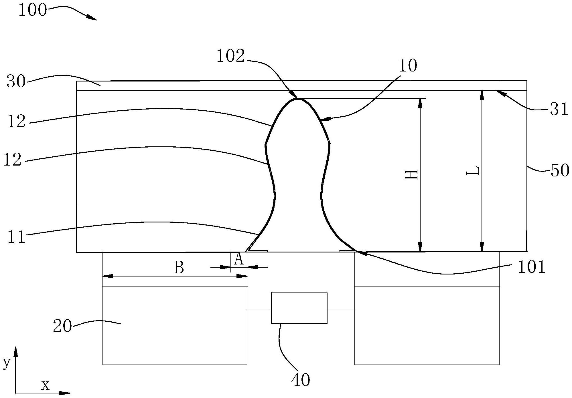
本申请提供一种换热器,涉及换热技术领域。该换热器包括导流结构、换热管组、沿第一方向与换热管组相对设置的风机、沿第二方向与风机间隔设置的动力源,动力源与风机连接,换热管组构造有沿第一方向与动力源相对设置的辅风量区,导流结构沿第一方向位于辅风量区和动力源之间,导流结构构造有沿第一方向间隔布置的第一端和第二端,第一端靠近风机,第二端靠近辅风量区,导流结构至少靠近风机的一端构造有渐缩段,渐缩段沿第二方向的长度自第一端朝向第二端渐缩。通过导流结构能够将风机出风口靠近动力源的侧边处的气流引流至辅风量区,以促进换热管组表面气流分布均匀,提升换热效率。


