授权公布号:CN215095631U
一种自动套PE膜设备
有效
申请
2021-08-03
申请公布
1970-01-01
授权
2021-12-10
预估到期
2031-08-03
| 申请号 | CN202121789936.9 |
| 申请日 | 2021-08-03 |
| 授权公布号 | CN215095631U |
| 授权公告日 | 2021-12-10 |
| 分类号 | B29C63/02 |
| 分类 | 塑料的加工;一般处于塑性状态物质的加工; |
| 申请人名称 | 山水电子(中国)有限公司 |
| 申请人地址 | 广东省中山市五桂山区商业街1号之三 |
专利法律状态
2021-12-10
授权
状态信息
授权
摘要
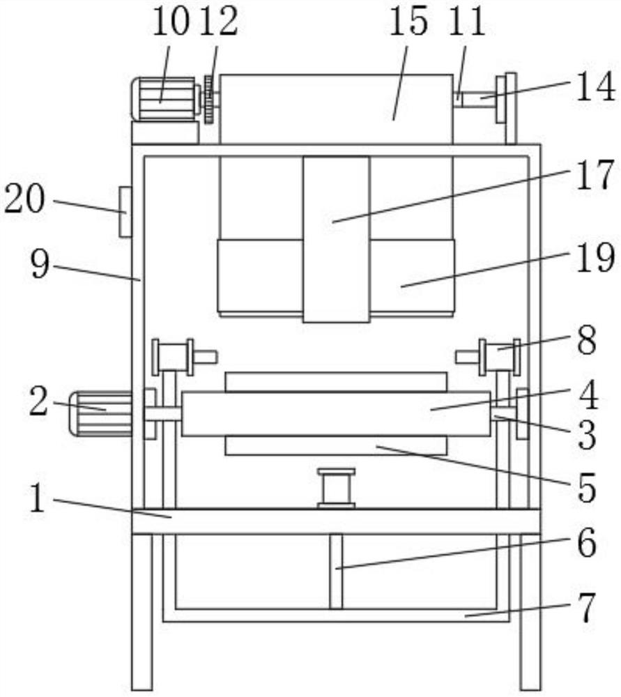
本实用新型公开了一种自动套PE膜设备,包括支撑板,所述支撑板顶部的外侧固定连接有固定架,所述固定架的左侧固定连接有第一电机,所述第一电机的输出端固定连接有转轴,所述转轴的表面套设有输送带,所述输送带的外表面固定连接有限位板,所述支撑板顶部的中轴处固定连接有液压缸,所述液压缸的底部固定连接有连接架。本实用新型通过支撑板、第一电机、转轴、输送带、限位板、液压缸、连接架、电动伸缩杆、固定架、第二电机、主动辊、主动齿轮、从动齿轮、从动辊、PE膜、距离传感器、竖板、气缸、加热板和PLC控制器的配合,解决了目前在进行套膜时都是人工手动操作,不仅工作效率低,而且增加劳动量,不方便使用的问题。


