授权公布号:CN220192410U
风吸式卷发组件及卷发器
有效
申请
2023-06-30
申请公布
1970-01-01
授权
2023-12-19
预估到期
2033-06-30
| 申请号 | CN202321694299.6 |
| 申请日 | 2023-06-30 |
| 授权公布号 | CN220192410U |
| 授权公告日 | 2023-12-19 |
| 分类号 | A45D2/16;A45D2/36 |
| 分类 | 手携物品或旅行品; |
| 申请人名称 | 深圳市奋达科技股份有限公司 |
| 申请人地址 | 广东省深圳市宝安区石岩洲石路奋达科技园 |
专利法律状态
2023-12-19
授权
状态信息
授权
摘要
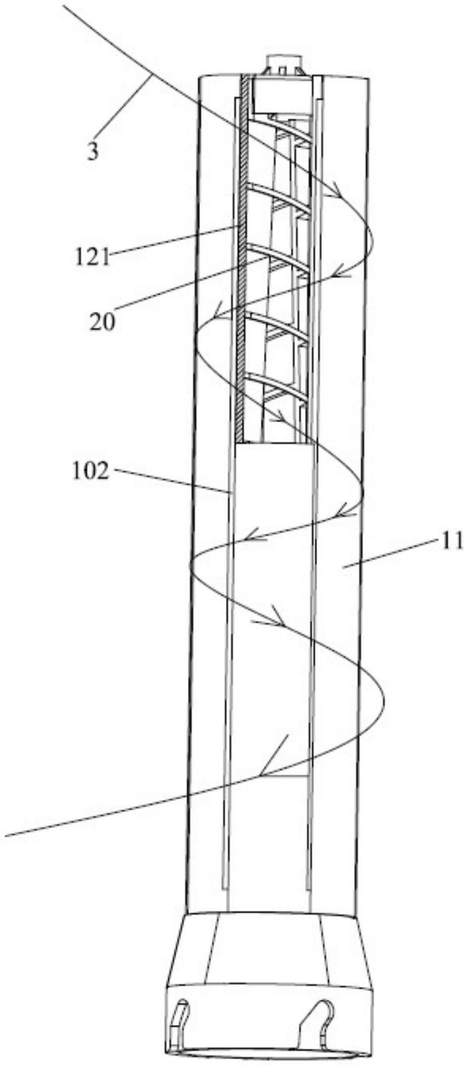
本实用新型公开一种风吸式卷发组件及卷发器,包括:筒体,内部具有风腔,且筒体的外表面开设有多个出风口;筒体沿轴向方向具有第一端和第二端,于第一端的轴向开设有进风口;所述进风口、风腔和出风口相连通;风腔内倾斜设有多个沿所述筒体轴向间隔的导风片,导风片引导气流均匀分散的于出风口吹出,且靠近第一端的所述导风片与筒体纵截面之间的夹角小于靠近第二端的所述导风片与筒体纵截面之间的夹角。通过将导风片倾斜设置在风腔内,倾斜设置的导风片有利于顺着气流的流向将气流引导从筒体的轴向向外扩散,以使气流均匀分散的从出风口吹出,从而能将头发呈螺旋状均匀分散的吸附在筒体的表面,提升了头发干燥造型效率,不会影响整体造型效果。


