授权公布号:CN109982222B
一种微型受话器
有效
申请
2019-05-16
申请公布
2019-07-05
授权
2024-02-06
预估到期
2039-05-16
| 申请号 | CN201910406461.1 |
| 申请日 | 2019-05-16 |
| 申请公布号 | CN109982222A |
| 申请公布日 | 2019-07-05 |
| 授权公布号 | CN109982222B |
| 授权公告日 | 2024-02-06 |
| 分类号 | H04R9/08;H04R9/02 |
| 分类 | 电通信技术; |
| 申请人名称 | 国光电器股份有限公司 |
| 申请人地址 | 广东省广州市花都区新雅街镜湖大道8号 |
专利法律状态
2024-02-06
授权
状态信息
授权
2019-07-30
实质审查的生效
状态信息
实质审查的生效;IPC(主分类):H04R9/08;申请日:20190516
2019-07-05
公布
状态信息
公布
摘要
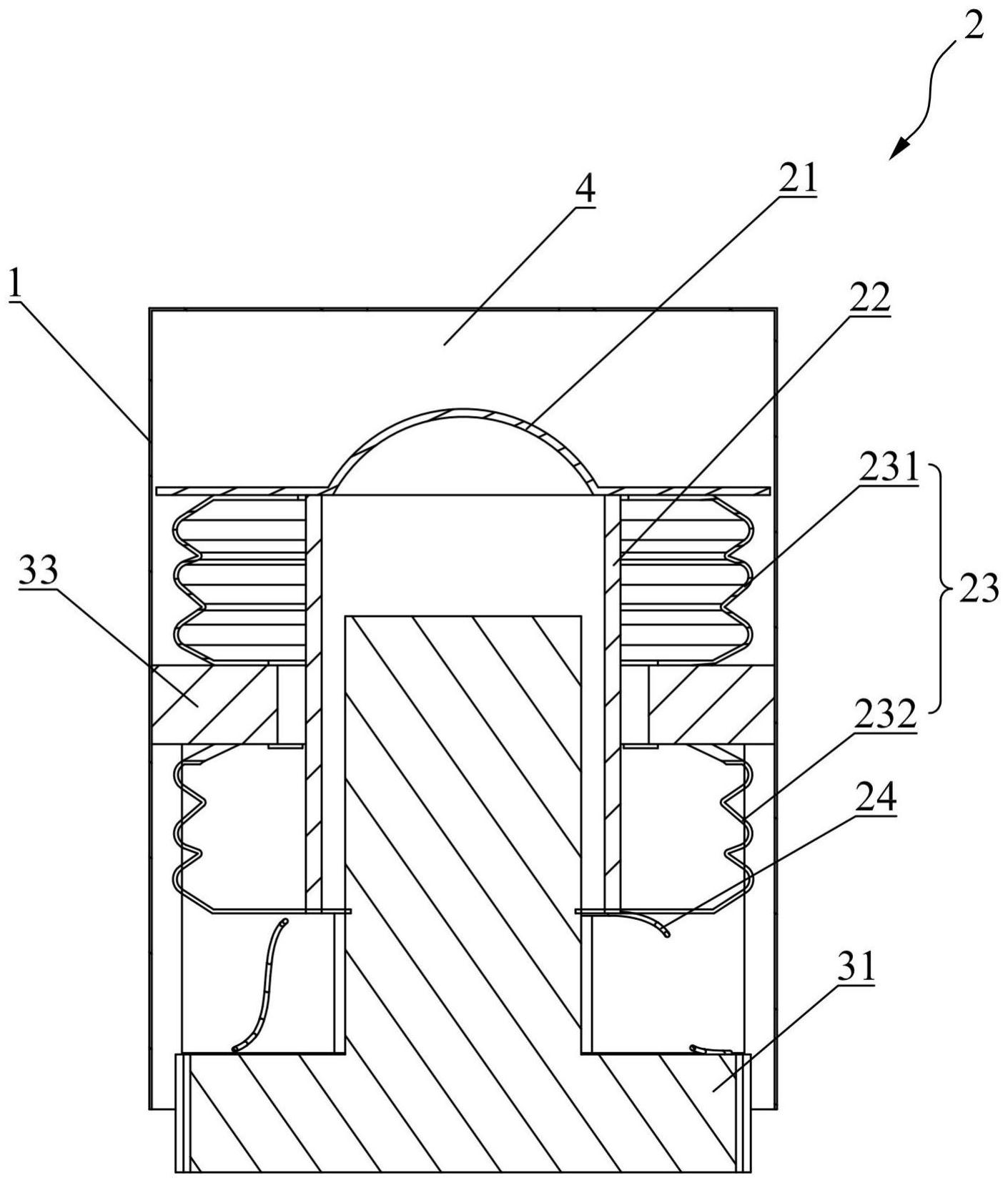
本发明公开了一种微型受话器,其属于扬声器技术领域。该微型受话器包括壳体、振动系统和磁路系统。振动系统和磁路系统均设置于壳体内,其中,振动系统包括音膜、音圈和支撑组件,音膜与音圈的顶端抵接,支撑组件连接于音膜,用于对音膜弹性支撑,磁路系统被配置为驱动音圈往复运动,使得音圈带动音膜运动,从而产生声音。此外,振动系统、磁路系统与壳体的内壁之间形成用于发声的空气耦合腔。在支撑组件的作用下,使得音圈振动幅度增加,进而使音膜的振动幅度增加,以提高受话器的声源级,并通过形成的空气耦合腔可以更高效率的向外辐射声压,以提高受话器的声源级。


