授权公布号:CN212727004U
一种具有太阳能电池板的收音机用天线
有效
申请
2020-08-18
申请公布
1970-01-01
授权
2021-03-16
预估到期
2030-08-18
| 申请号 | CN202021727898.X |
| 申请日 | 2020-08-18 |
| 授权公布号 | CN212727004U |
| 授权公告日 | 2021-03-16 |
| 分类号 | H04B1/08;H01Q1/00;H01Q1/24 |
| 分类 | 电通信技术; |
| 申请人名称 | 深圳市德劲电子有限公司 |
| 申请人地址 | 广东省深圳市宝安区福永镇怀德翠岗工业园四区26幢 |
专利法律状态
2021-03-16
授权
状态信息
授权
摘要
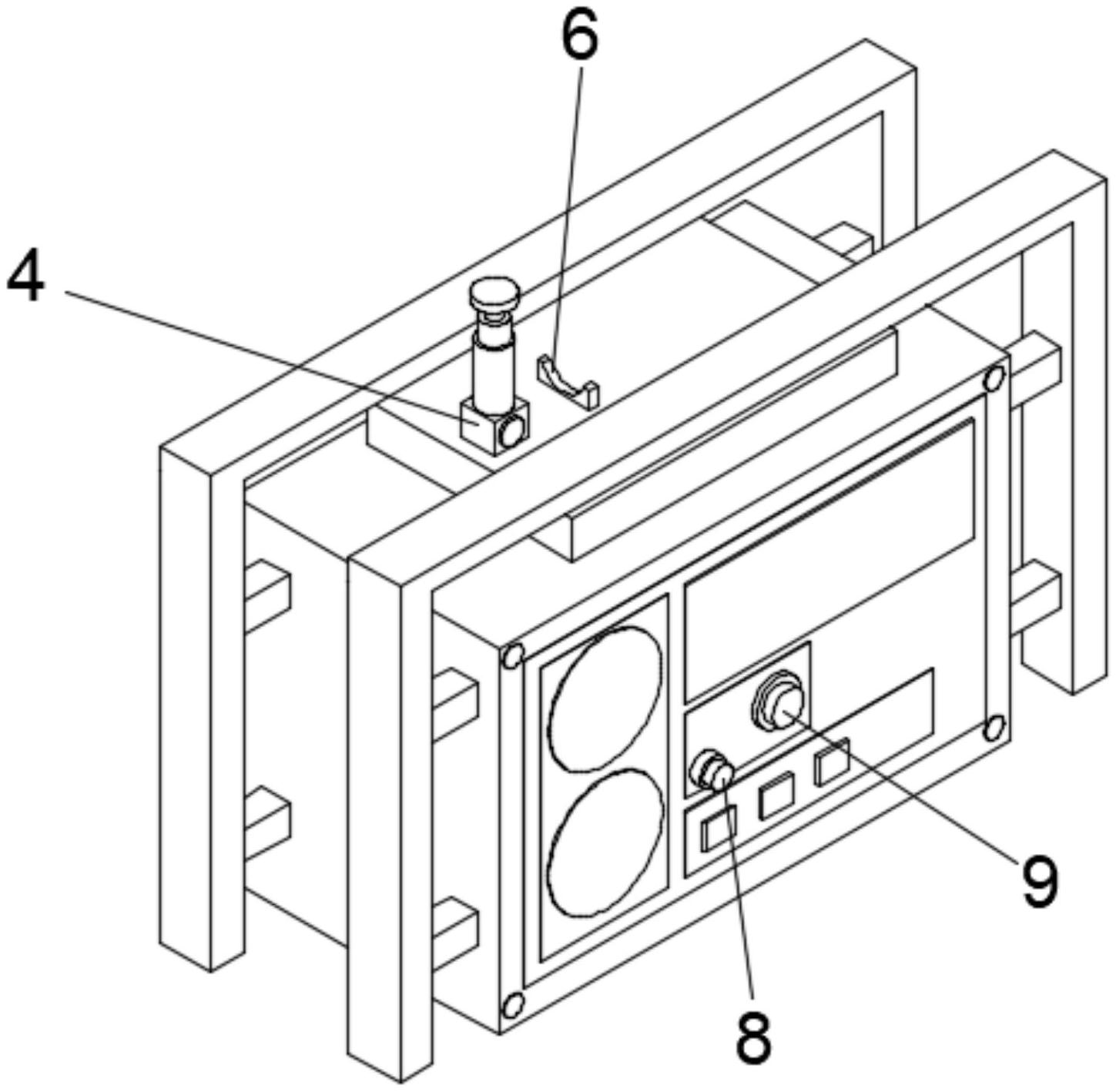
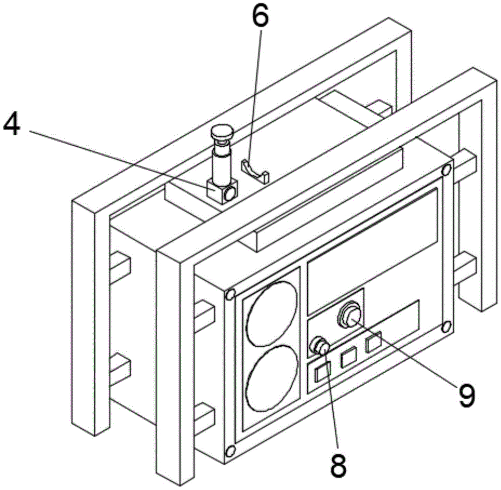
本实用新型提供一种具有太阳能电池板的收音机用天线,涉及太阳能领域。包括收音机壳体,所述收音机壳体的顶部固定安装有太阳能支架,所述太阳能支架的表面固定安装有太阳能电池板。该具有太阳能电池板的收音机用天线,通过设置防滑套、连接杆、支撑柱和手提带的配合,防摔架围绕收音机的机身,在不慎将收音机掉落在地面时,可以起到较好的缓冲作用,能够将收音机保护起来,机身与防摔架延伸形成固定,避免了收音机受撞而破坏,延长使用寿命,手提带方便收音机的提拿,通过设置调频控制按钮,可加强收音机接收信号的灵敏度,方便用户选择自己喜欢的频道,确保了用户的正常使用,根据人们的需求调节各种音效,使演奏效果更佳。


