授权公布号:CN213309485U
一种智能扫地机器人用的集尘盒自动清洁装置
有效
申请
2020-08-18
申请公布
1970-01-01
授权
2021-06-01
预估到期
2030-08-18
| 申请号 | CN202021726750.4 |
| 申请日 | 2020-08-18 |
| 授权公布号 | CN213309485U |
| 授权公告日 | 2021-06-01 |
| 分类号 | A47L11/24;A47L11/40 |
| 分类 | 家具;家庭用的物品或设备;咖啡磨;香料磨;一般吸尘器; |
| 申请人名称 | 深圳市德劲电子有限公司 |
| 申请人地址 | 广东省深圳市宝安区福永镇怀德翠岗工业园四区26幢 |
专利法律状态
2021-06-01
授权
状态信息
授权
摘要
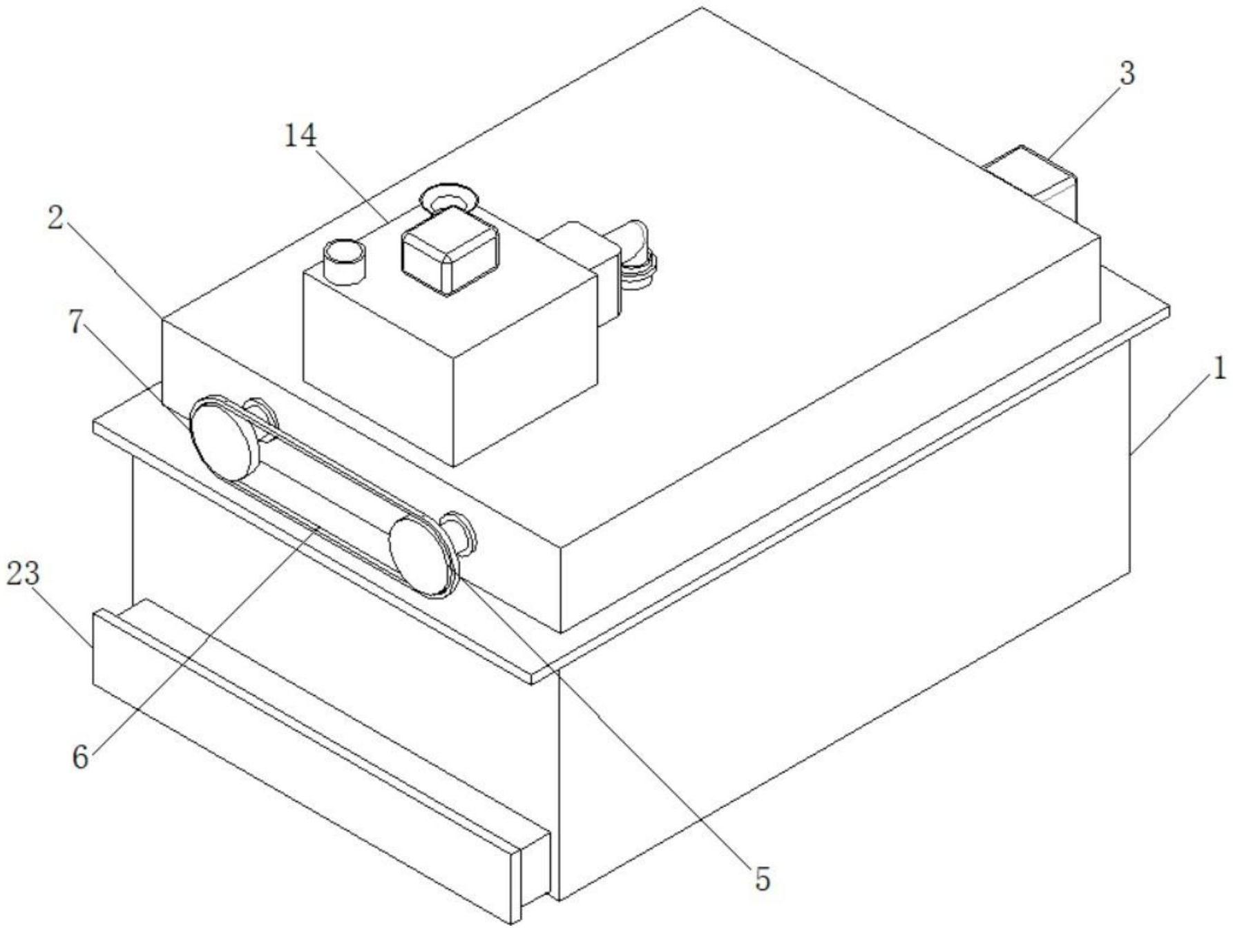
本实用新型属于扫地机器人技术领域,尤其为一种智能扫地机器人用的集尘盒自动清洁装置,包括集尘盒,所述集尘盒的顶部安装有箱体,所述箱体的一侧设置有第一电机,所述第一电机的输出端安装有第一螺纹杆,所述第一螺纹杆的一端安装有第一传动轮,所述第一传动轮的表面设置有传动带,所述箱体的内部安装有第二螺纹杆,所述第二螺纹杆的一端安装有第二传动轮。通过在箱体的表面设置第一电机与第一螺纹杆,可以移动螺纹筒与滑块,第一螺纹杆配合第一传动轮与传动带、第二传动轮,可以使第二螺纹杆转动,可以移动清洁装置的位置,通过第二电机与第一转轴,可以使清洁装置转动,对集尘盒进行清洗,方便清理集尘盒。


