授权公布号:CN215453192U
集成电动工具电池管理的便携式音响
失效
申请
2021-08-26
申请公布
1970-01-01
授权
2022-01-07
预估到期
2031-08-26
| 申请号 | CN202122032830.0 |
| 申请日 | 2021-08-26 |
| 授权公布号 | CN215453192U |
| 授权公告日 | 2022-01-07 |
| 分类号 | H04R1/02;B25H3/02;H01M50/244;H01M50/247 |
| 分类 | 电通信技术; |
| 申请人名称 | 深圳市德劲电子有限公司 |
| 申请人地址 | 广东省深圳市宝安区福永镇怀德翠岗工业园四区26幢 |
专利法律状态
2023-09-01
专利权的终止
状态信息
未缴年费专利权终止;IPC(主分类):H04R1/02;专利号:ZL2021220328300;申请日:20210826;授权公告日:20220107;终止日期:
2022-01-07
授权
状态信息
授权
摘要
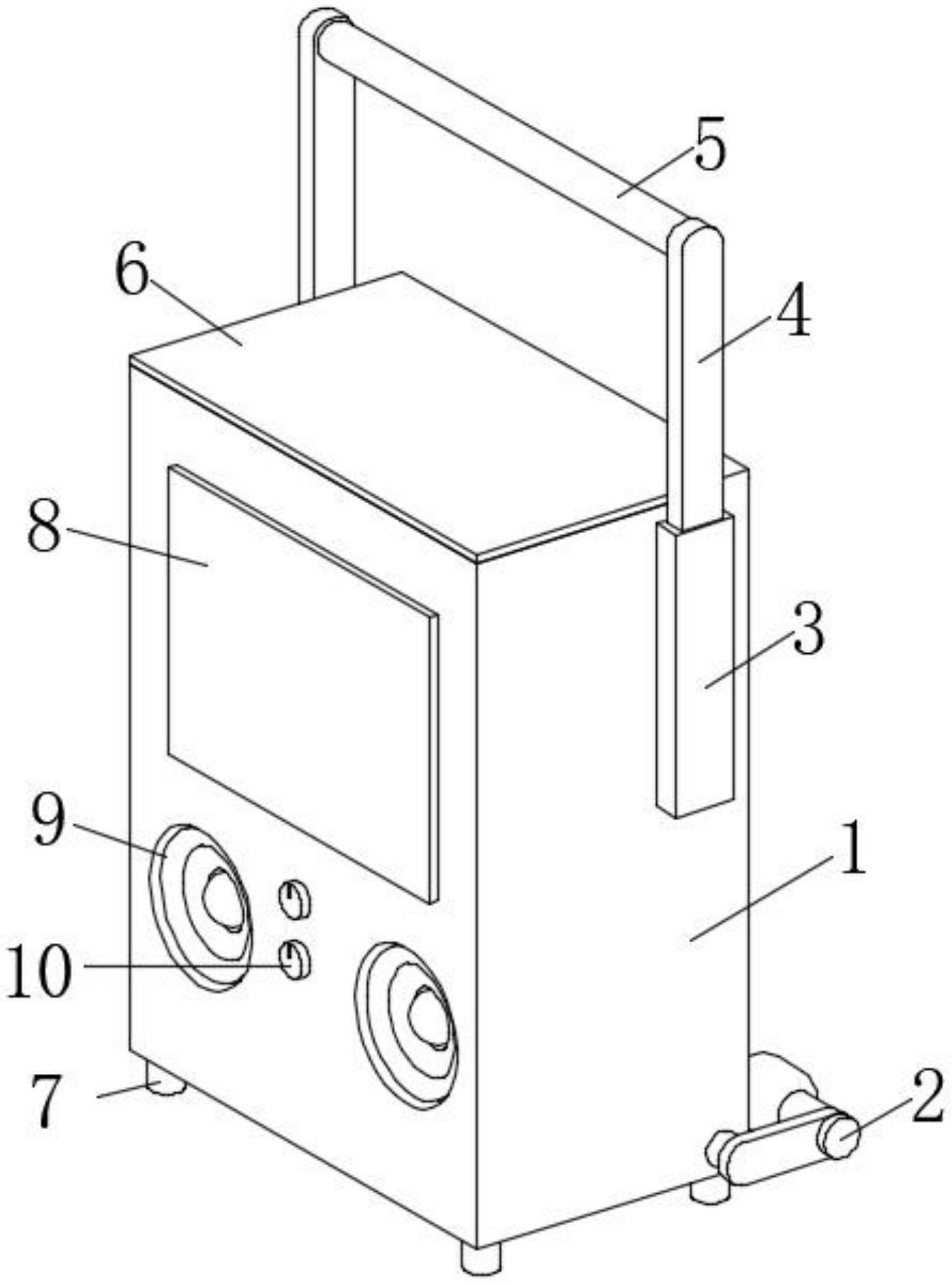
本实用新型公开了集成电动工具电池管理的便携式音响,包括音响本体,所述音响本体下端四角均固定连接有支柱,所述音响本体右端活动连接有移动装置,所述音响本体左端上部和右端上部固定连接有空心杆,两个所述空心杆上端均穿插活动连接有伸缩杆,两个所述伸缩杆相互靠近的一端共同固定连接有把手,所述音响本体上端活动连接有收纳装置,所述音响本体前端上部固定连接有显示屏,所述音响本体前端下部固定连接有两个扬声器,所述音响本体前端下部固定连接有两个旋钮。本实用新型所述的集成电动工具电池管理的便携式音响,通过设置移动装置和收纳装置,可以便于对音响电池进行管理和维修,结构简单牢固,灵活性强,安全性能高。


