授权公布号:CN219052682U
冷柜用钣金件的加工固定机构
有效
申请
2022-09-27
申请公布
1970-01-01
授权
2023-05-23
预估到期
2032-09-27
| 申请号 | CN202222562047.X |
| 申请日 | 2022-09-27 |
| 授权公布号 | CN219052682U |
| 授权公告日 | 2023-05-23 |
| 分类号 | B21D43/00 |
| 分类 | 基本上无切削的金属机械加工;金属冲压; |
| 申请人名称 | 山东宏泰电器有限公司 |
| 申请人地址 | 山东省烟台市莱州市宏祥经济示范区 |
专利法律状态
2023-05-23
授权
状态信息
授权
摘要
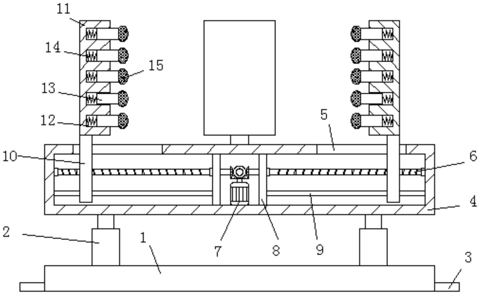
本实用新型属于钣金件加工技术领域,尤其是一种冷柜用钣金件的加工固定机构,针对现有的钣金件加工固定机构只能针对一种形状的钣金固定,对不同尺寸的钣金固定时,需要更换夹具,降低了工作效率的问题,现提出如下方案,其包括底部安装板,底部安装板的两侧均固定安装有两个安装片,两个安装片上均开设有通孔,底部安装板的顶部设置有升降机构,升降机构的顶部连接有矩形盒,矩形盒的顶部开设有四个条形孔,四个条形孔为均匀排布。本实用新型可以采用四面对钣金件固定,通过弹簧为弹力杆提供弹力,多个橡胶头和多个弹力杆的配合为了满足不同形状的钣金件固定,可以满足不同形状的钣金件固定。


