授权公布号:CN212947273U
一种玻璃微小孔内壁射流抛光罩
有效
申请
2020-07-07
申请公布
1970-01-01
授权
2021-04-13
预估到期
2030-07-07
| 申请号 | CN202021308616.2 |
| 申请日 | 2020-07-07 |
| 授权公布号 | CN212947273U |
| 授权公告日 | 2021-04-13 |
| 分类号 | B24B41/06;B24B29/02;B24B45/00 |
| 分类 | 磨削;抛光; |
| 申请人名称 | 浙江奥星制冷设备有限公司 |
| 申请人地址 | 浙江省绍兴市嵊州市甘霖工业园区 |
专利法律状态
2021-04-13
授权
状态信息
授权
摘要
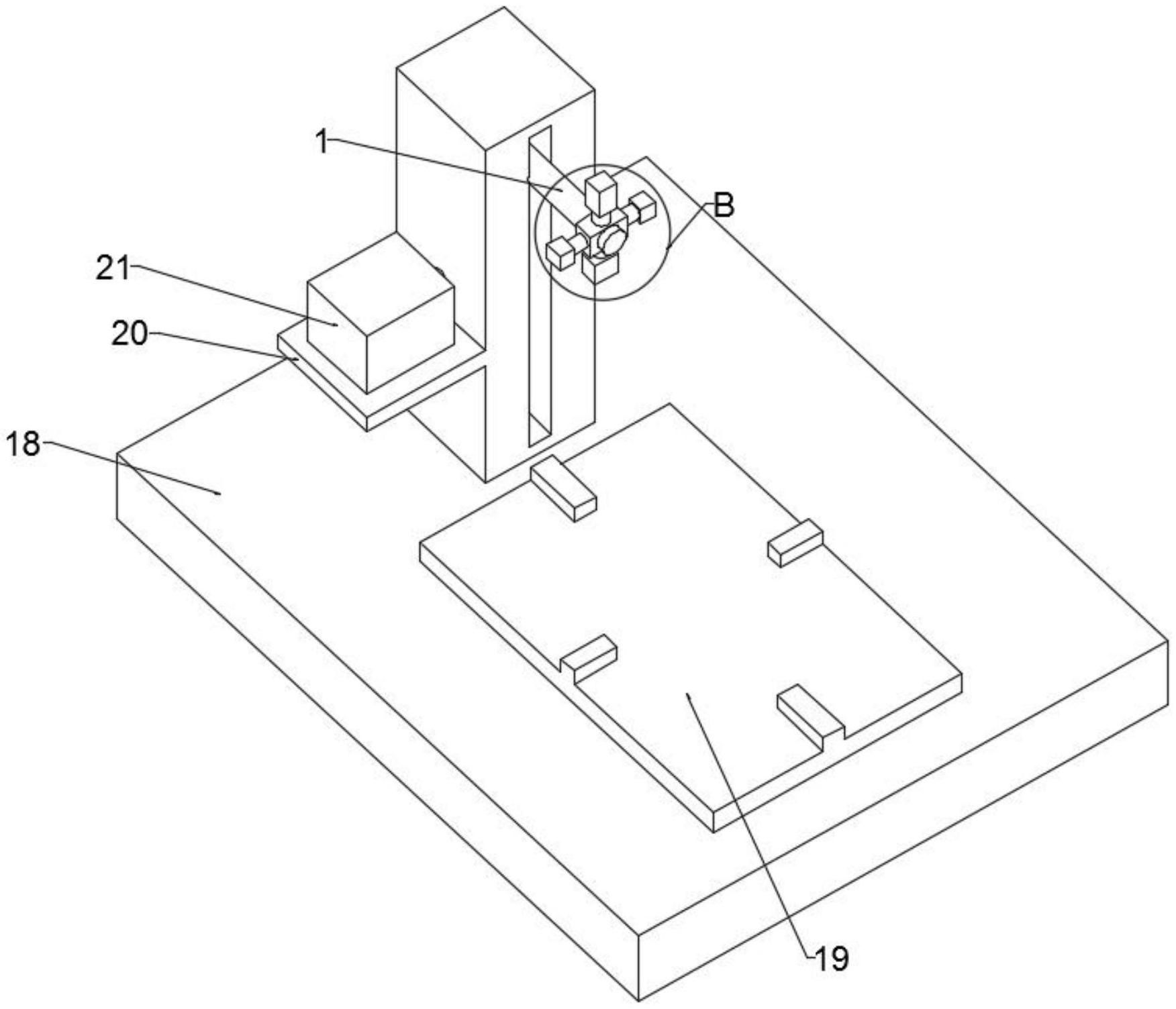
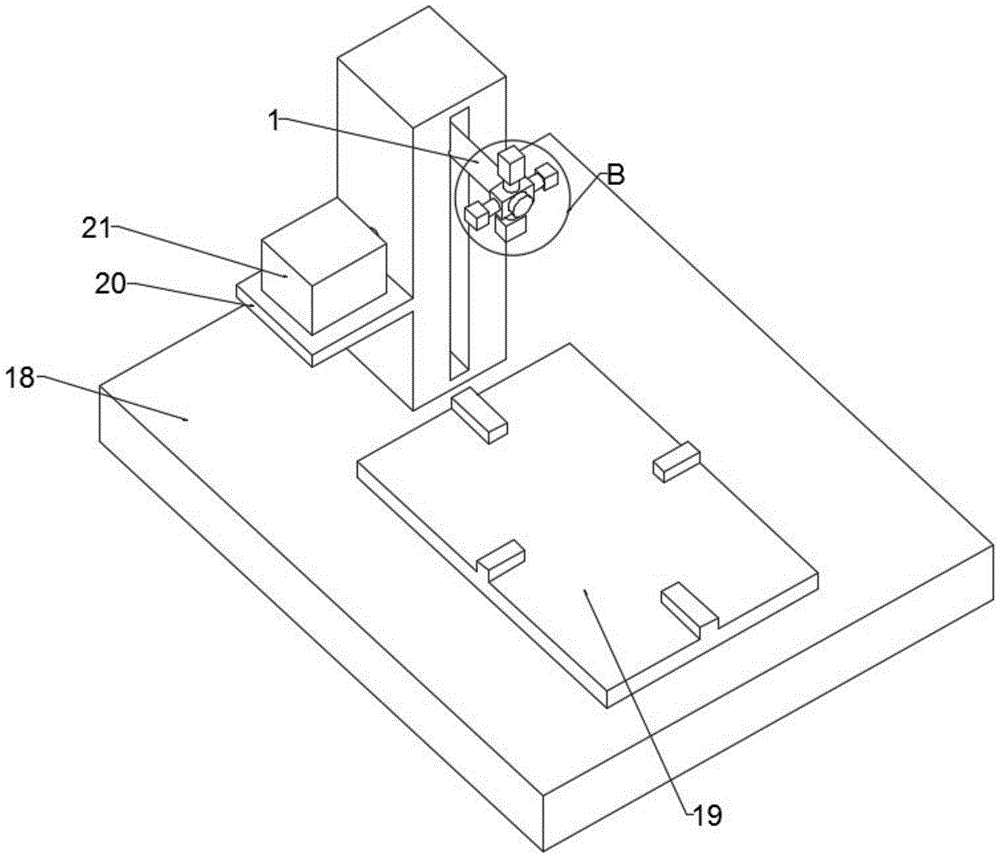
本实用新型公开了一种玻璃微小孔内壁射流抛光罩,涉及抛光罩技术领域。本实用新型包括固定杆,固定杆的周侧固定连接有第一转动件,第一转动件的周侧转动连接有多根转动杆,转动杆的一端固定连接有安装件,第一槽道与凹槽、槽口依次相连通。本实用新型通过在安装件内滑动连接有齿板,从而使抛光罩可以夹持在安装件与齿板之间,从而提升了在抛光时抛光罩的稳定性,在凹槽内滑动配合有按压杆,在抛光罩的抛光力不足时,按下按压杆,方便了更换抛光罩,从而提升了工作效率,在第一转动件的一侧固定连接有安装件,可以根据需要抛光零件的不同进行调整不同的安装件,从而提升了装置的多样化。


