授权公布号:CN212962298U
多系统壳管式蒸发器
有效
申请
2020-08-09
申请公布
1970-01-01
授权
2021-04-13
预估到期
2030-08-09
| 申请号 | CN202021635295.7 |
| 申请日 | 2020-08-09 |
| 授权公布号 | CN212962298U |
| 授权公告日 | 2021-04-13 |
| 分类号 | F25B39/02 |
| 分类 | 制冷或冷却;加热和制冷的联合系统;热泵系统;冰的制造或储存;气体的液化或固化; |
| 申请人名称 | 浙江奥星制冷设备有限公司 |
| 申请人地址 | 浙江省绍兴市嵊州市甘霖工业园区 |
专利法律状态
2021-04-13
授权
状态信息
授权
摘要
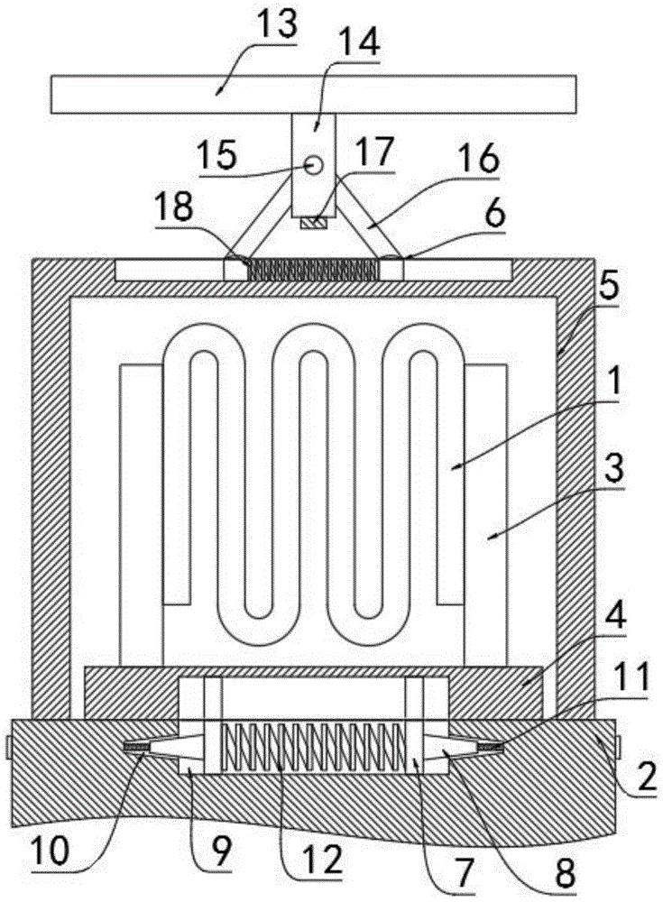
本实用新型公开了多系统壳管式蒸发器,包括壳管式蒸发器本体与安装载体,所述壳管式蒸发器本体的两侧均设有安装板,所述壳管式蒸发器本体安装在两块安装板之间,两块所述安装板的下端固定连接有同一块支撑板,所述支撑板与安装板之间可拆卸连接,所述壳管式蒸发器本体的外侧设有固定框,所述固定框固定连接在安装载体上。本实用新型通过设置支撑板与安装载体之间可拆卸连接,配合左右两侧的螺栓,从而对支撑板上侧的壳管式蒸发器本体进行固定,通过拆卸螺栓,从而对壳管式蒸发器进行拆卸,提高安装与拆卸易操作性;通过设置防护机构,可以从壳管式蒸发器的上方进行防护,配合第二弹簧,降低对整个装置冲击力。


