授权公布号:CN214249924U
椭圆管蒸发冷却机组装置
有效
申请
2021-01-11
申请公布
1970-01-01
授权
2021-09-21
预估到期
2031-01-11
| 申请号 | CN202120059186.3 |
| 申请日 | 2021-01-11 |
| 授权公布号 | CN214249924U |
| 授权公告日 | 2021-09-21 |
| 分类号 | F24F5/00;F24F8/108;F24F8/90;F24F13/28;F24F13/30 |
| 分类 | 供热;炉灶;通风; |
| 申请人名称 | 浙江奥星制冷设备有限公司 |
| 申请人地址 | 浙江省绍兴市嵊州市甘霖工业园区 |
专利法律状态
2021-09-21
授权
状态信息
授权
摘要
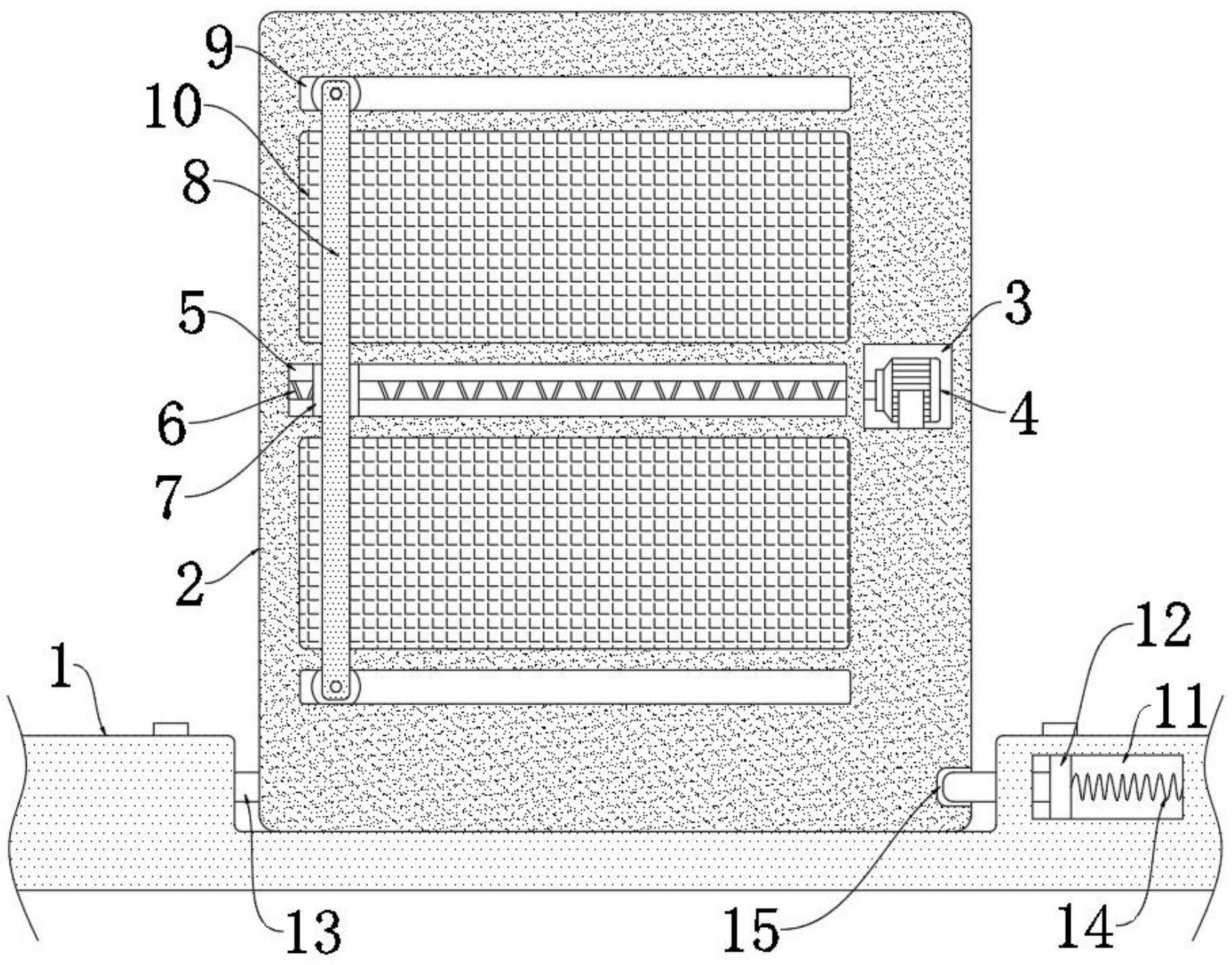
本实用新型公开了椭圆管蒸发冷却机组装置,包括固定于地面的底板,所述底板的内部设有凹槽,所述凹槽的内部设有蒸发器本体,所述蒸发器本体的内部设有用于提供动力的驱动机构,所述蒸发器本体的外壁对称设有两个用于进气的通气口,两个所述通气口的外部均设有用于阻隔灰尘的挡网,所述蒸发器本体的内部设有与驱动机构配合的用于对两个挡网表面灰尘进行清理的清洁机构。本实用新型结构合理,可以将蒸发器本体外部通气口的积灰清理干净,避免其影响通气口的进气效率,进而提高装置的换热效率,也可以在蒸发器本体插入底板内部后将其卡紧固定,进而提高装置的稳定性,使其在工作时不易出现晃动。


