授权公布号:CN214287037U
一种便于清洗的Y型过滤器
有效
申请
2020-12-16
申请公布
1970-01-01
授权
2021-09-28
预估到期
2030-12-16
| 申请号 | CN202023034056.9 |
| 申请日 | 2020-12-16 |
| 授权公布号 | CN214287037U |
| 授权公告日 | 2021-09-28 |
| 分类号 | B01D35/02;B01D35/16 |
| 分类 | 一般的物理或化学的方法或装置; |
| 申请人名称 | 马鞍山市博浪热能科技有限公司 |
| 申请人地址 | 安徽省马鞍山市花山区工业园笔架山路1166号 |
专利法律状态
2021-09-28
授权
状态信息
授权
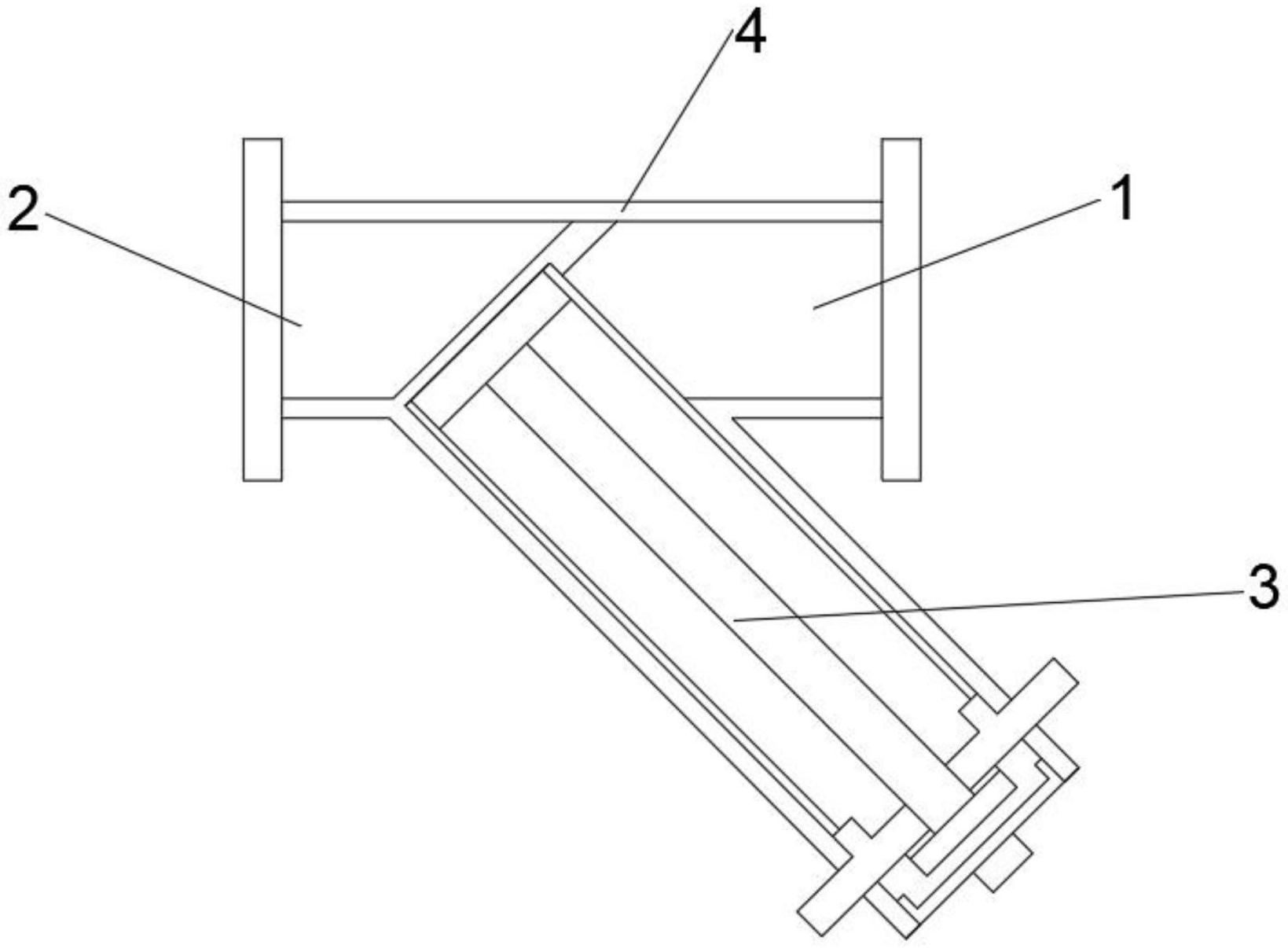
摘要
本实用新型公开一种便于清洗的Y型过滤器,包括出水口、进水口、过滤装置、管壁,所述出水口和进水口之间安装有过滤装置,所述过滤装置包括斜面、过滤网、连接杆、侧壁、端盖、清洁面、密封垫、进水孔,所述管壁上固定连接有斜面,所述管壁一侧固定连接有侧壁,所述斜面和侧壁中安装有过滤网,所述过滤网的一侧安装有清洁面,所述清洁面与过滤网尺寸相匹配,所述清洁面的一侧固定安装有连接杆,所述连接杆的另一侧固定连接有拉手,所述侧壁远离斜面的一侧的位置安装有端面,所述端面的中心位置开设有通孔,所述连接杆安装在通孔中,所述侧壁延伸至端面的另一侧,所述端面的另一侧的侧壁上螺纹连接有端盖,所述端盖的另一侧固定连接有旋扣。


