授权公布号:CN210313855U
一种热水器杀菌过滤装置
有效
申请
2019-05-28
申请公布
1970-01-01
授权
2020-04-14
预估到期
2029-05-28
| 申请号 | CN201920781859.9 |
| 申请日 | 2019-05-28 |
| 授权公布号 | CN210313855U |
| 授权公告日 | 2020-04-14 |
| 分类号 | C02F9/08;C02F103/02N |
| 分类 | 水、废水、污水或污泥的处理; |
| 申请人名称 | 马鞍山市博浪热能科技有限公司 |
| 申请人地址 | 安徽省马鞍山市慈湖高新区笔架山路1166号 |
专利法律状态
2020-07-10
著录事项变更
状态信息
著录事项变更 IPC(主分类):C02F9/08 变更前发明人:邵昕 变更前发明人:陈力敏 变更前发明人:温靖 变更前发明人:孙金金 变更后发明人:邵昕 变更后发明人:陈立敏 变更后发明人:温靖 变更后发明人:孙金金
2020-04-14
授权
状态信息
授权
摘要
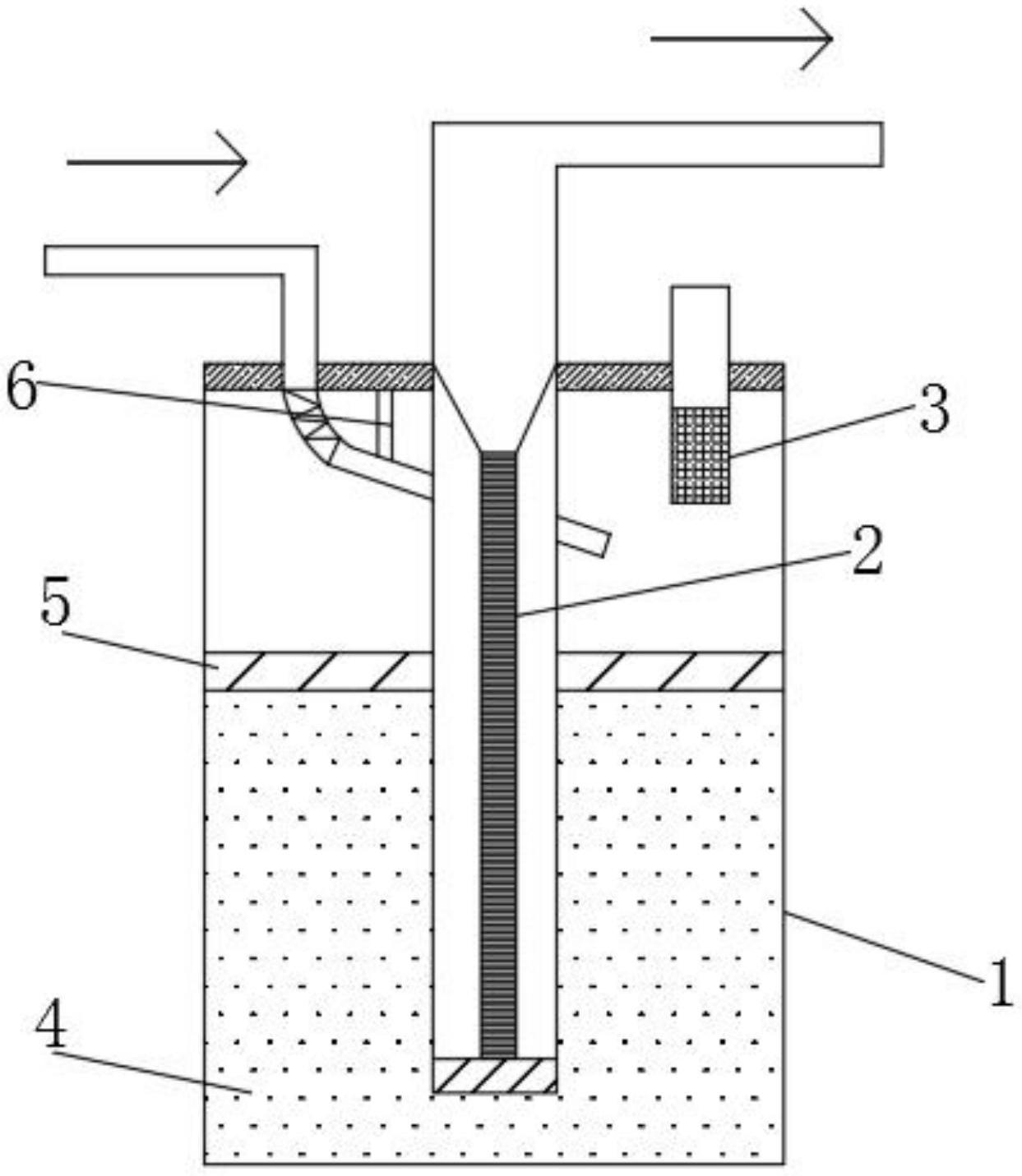
本实用新型公开了一种热水器杀菌过滤装置,包括过滤器,所述过滤器的一端中部和一侧分别连接有进水管和排水管,且所述过滤器的内部底端安装有活性炭,活性炭的顶部通过网板与过滤器的内部固定连接。排水管的底部贯穿网板插接在活性炭的内部,所述排水管的内部安装有杀菌灯,且过滤器的内部顶端安装有水质检测仪,水质检测仪安装在伸缩杆的底部,伸缩杆的顶部活动套装在套筒的内部。该过滤装置既能过滤也能杀菌,能充分的对水质进行处理,保证水质的安全,进入热水器内部的水更为洁净。且内部过滤和杀菌装置可以自由的拆卸,清理维护简单,杀菌成本低。一体化的设备构造简单,容易安装,小巧轻便,占地少。


