授权公布号:CN115120139B
一种清洁设备
有效
申请
2022-06-17
申请公布
2022-09-30
授权
2024-03-22
预估到期
2042-06-17
| 申请号 | CN202210691982.8 |
| 申请日 | 2022-06-17 |
| 申请公布号 | CN115120139A |
| 申请公布日 | 2022-09-30 |
| 授权公布号 | CN115120139B |
| 授权公告日 | 2024-03-22 |
| 分类号 | A47L11/00;A47L11/24;A47L11/40 |
| 分类 | 家具;家庭用的物品或设备;咖啡磨;香料磨;一般吸尘器; |
| 申请人名称 | 安克创新科技股份有限公司 |
| 申请人地址 | 湖南省长沙市高新开发区尖山路39号长沙中电软件园有限公司一期七栋7楼701室 |
专利法律状态
2024-03-22
授权
状态信息
授权
2022-10-25
实质审查的生效
状态信息
实质审查的生效;IPC(主分类):A47L11/00;申请日:20220617
2022-09-30
公布
状态信息
公布
摘要
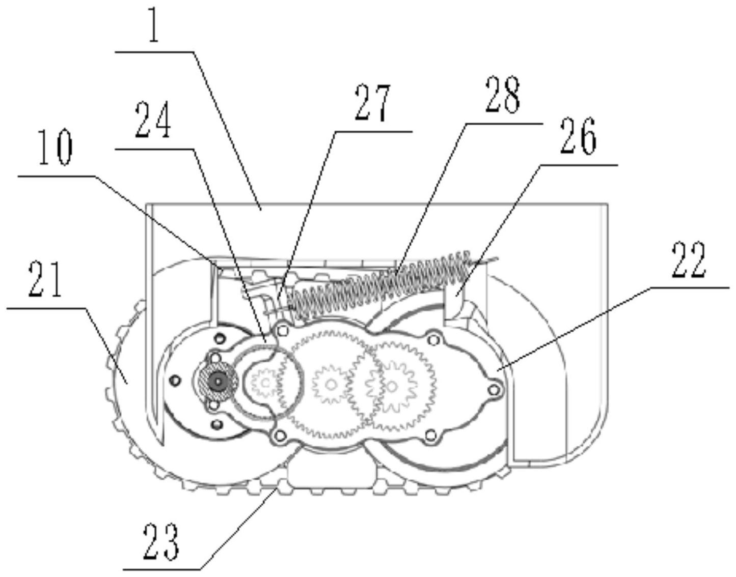
本申请公开了一种清洁设备,所述清洁设备包括:设备主体,所述设备主体朝向工作表面的一侧设置有容纳槽;驱动组件,所述驱动组件在收起位置和脱出位置之间可旋转地连接所述设备主体,用于驱动所述清洁设备行进,其中,所述驱动组件包括履带式驱动轮以及用于驱动所述履带式驱动轮旋转的驱动器;升降机构,连接所述驱动组件和所述设备主体,用于使所述驱动组件在所述收起位置和所述脱出位置之间浮动;其中,位于所述脱出位置的至少部分所述驱动组件旋转至所述设备主体外并与所述设备主体成夹角设置,位于所述收起位置的至少部分所述驱动组件收纳于所述容纳槽内。本申请的清洁设备越障能力好,且在越障过程中不易磕碰底盘。


