授权公布号:CN211647681U
一种安全电磁锁
有效
申请
2019-09-06
申请公布
1970-01-01
授权
2020-10-09
预估到期
2029-09-06
| 申请号 | CN201921479091.6 |
| 申请日 | 2019-09-06 |
| 授权公布号 | CN211647681U |
| 授权公告日 | 2020-10-09 |
| 分类号 | E05B47/04;E05B15/10 |
| 分类 | 锁;钥匙;门窗零件;保险箱; |
| 申请人名称 | 深圳市倍斯特科技股份有限公司 |
| 申请人地址 | 广东省深圳市宝安区福永街道白石厦社区龙王庙工业区第66幢 |
专利法律状态
2020-10-09
授权
状态信息
授权
摘要
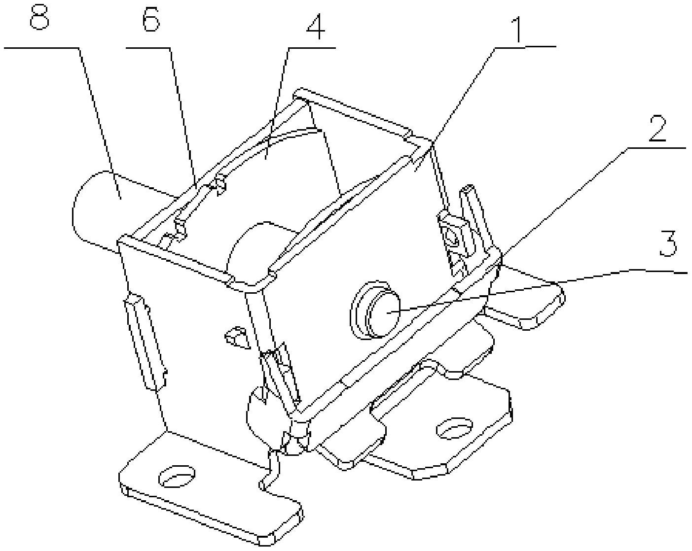
本实用新型涉及电磁锁的技术领域,提供了一种安全电磁锁其可以与圆柱形锁孔配合,包括:电磁锁本体和活动限位件,所述活动限位件在无外力的情况下,止挡臂端与安装支架的第三平面相抵靠;所述活动限位件可在外力晃动作用下沿销孔中心轴线做一定幅度的上升翻转运动,从而限位于往后退的螺钉及铁芯连接件;能够在没有外力施加的状态下,依靠重力的作用止挡臂端与固定支撑座第三平面外侧相抵靠。与现有技术对比,本申请提供的电磁锁具有结构简单、紧凑度高、生产成本低、限位效果好的特点,解决了在外力的作用下,达到硬性止挡的效果,实用性强且有效的保证了电磁锁锁止的可靠性。


