授权公布号:CN218100339U
一种共享移动电源的电池仓机构及其租借设备
有效
申请
2022-08-11
申请公布
1970-01-01
授权
2022-12-20
预估到期
2032-08-11
| 申请号 | CN202222118906.6 |
| 申请日 | 2022-08-11 |
| 授权公布号 | CN218100339U |
| 授权公告日 | 2022-12-20 |
| 分类号 | G07F17/00;H02J7/00 |
| 分类 | 核算装置; |
| 申请人名称 | 深圳市倍斯特科技股份有限公司 |
| 申请人地址 | 广东省深圳市宝安区福永街道白石厦社区东区龙王庙工业区66栋101、61栋101、65幢、66幢 |
专利法律状态
2022-12-20
授权
状态信息
授权
摘要
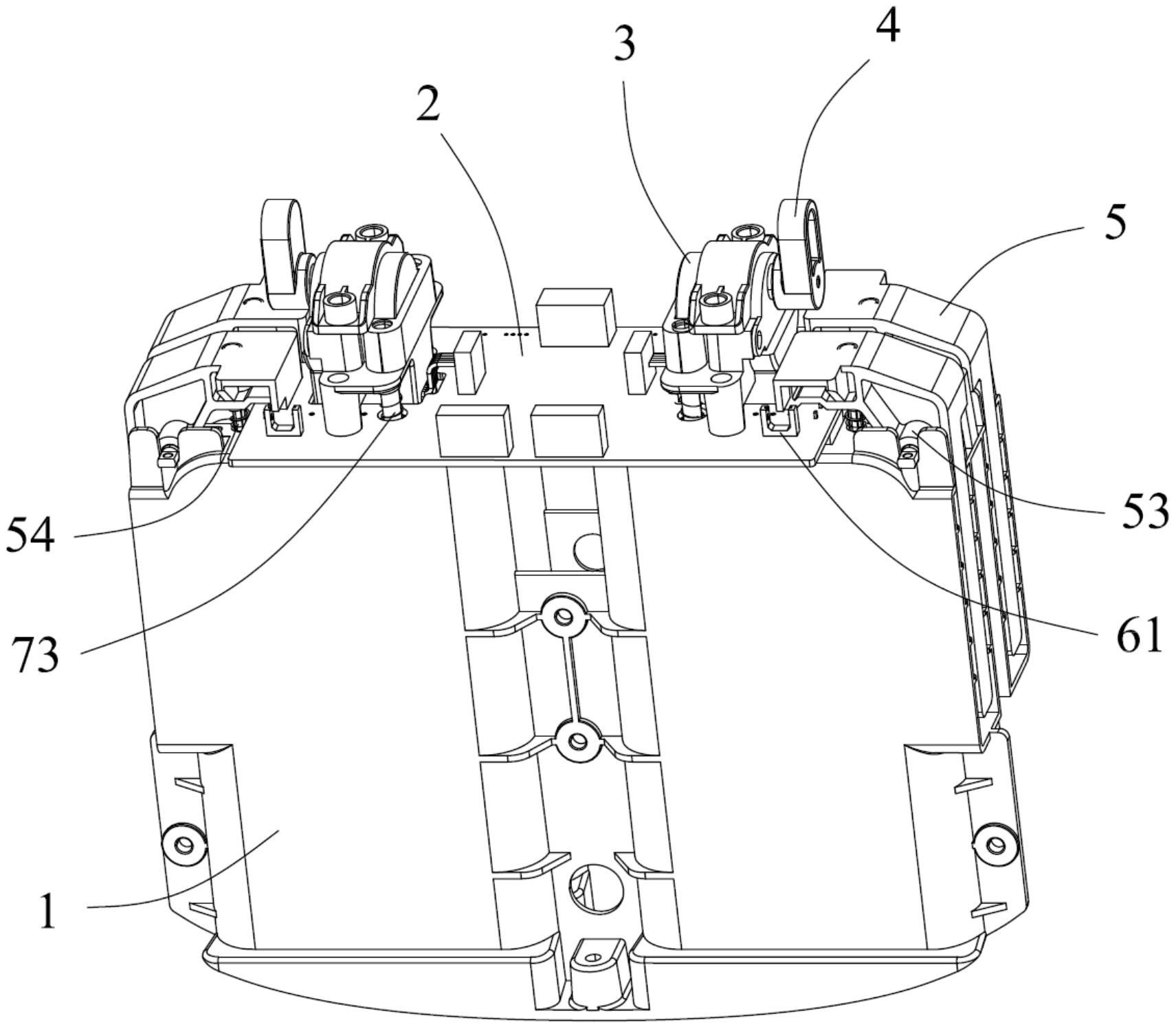
本实用新型涉及电源技术领域,特别涉及一种共享移动电源的电池仓机构及其租借设备。其共享移动电源的电池仓机构包括机芯模组、锁扣模组、驱动模组,机芯模组内至少设有两个放置移动电源的电池仓,每一锁扣模组对应一个电池仓,锁扣模组锁止或解锁电池仓内的移动电源,每两个相邻的锁扣模组之间设有一个驱动模组,驱动模组包括电机和摆臂,摆臂连接在电机上,两个相邻的锁扣模组位于摆臂的摆动区域内,电机驱动摆臂按压一个锁扣模组,解锁一个电池仓内的移动电源。通过一个电机和摆臂来分别控制两个锁扣模组的开闭锁,减少了电机的使用数量,使整体共享移动电源的电池仓机构可以做的更加紧凑,整体体积也更小。


