授权公布号:CN213425800U
带人脸识别功能的智能共享充电柜
有效
申请
2020-09-04
申请公布
1970-01-01
授权
2021-06-11
预估到期
2030-09-04
| 申请号 | CN202021933906.6 |
| 申请日 | 2020-09-04 |
| 授权公布号 | CN213425800U |
| 授权公告日 | 2021-06-11 |
| 分类号 | H02J7/00;G07F17/00;H05K7/20 |
| 分类 | 发电、变电或配电; |
| 申请人名称 | 深圳市倍斯特科技股份有限公司 |
| 申请人地址 | 广东省深圳市宝安区福永街道白石厦社区东区龙王庙工业区66栋101、61幢、65幢、66幢 |
专利法律状态
2021-06-11
授权
状态信息
授权
摘要
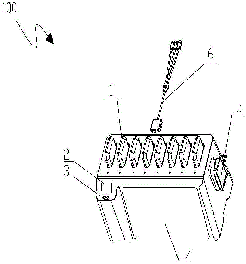
本实用新型公开了一种带人脸识别功能的智能共享充电柜,包括机柜本体,其特征在于,所述机柜本体上设置有二维码、摄像头、触屏显示屏,固定座安装在所述机柜本体内部,所述摄像头设置在固定座中间,所述摄像头上端与所述面壳贴合,所述触屏显示屏设置在机柜本体外壳前端。本实用新型的目的在于提供了一种带人脸识别功能的智能共享充电柜,有效实现了多种方式借还功能,能够为电子设备进行应急充电,方便用户,结构简单且使充电柜增加了新功能,大大提高了充电柜为用户服务的实用性。


