授权公布号:CN113791342B
开关器件以及用电器
有效
申请
2021-09-14
申请公布
2021-12-14
授权
2024-03-01
预估到期
2041-09-14
| 申请号 | CN202111075656.6 |
| 申请日 | 2021-09-14 |
| 申请公布号 | CN113791342A |
| 申请公布日 | 2021-12-14 |
| 授权公布号 | CN113791342B |
| 授权公告日 | 2024-03-01 |
| 分类号 | G01R31/327 |
| 分类 | 测量;测试; |
| 申请人名称 | 公牛集团股份有限公司 |
| 申请人地址 | 浙江省宁波市慈溪市观海卫镇工业园东区 |
专利法律状态
2024-03-01
授权
状态信息
授权
2021-12-31
实质审查的生效
状态信息
实质审查的生效;IPC(主分类):G01R31/327;申请日:20210914
2021-12-14
公布
状态信息
公布
摘要
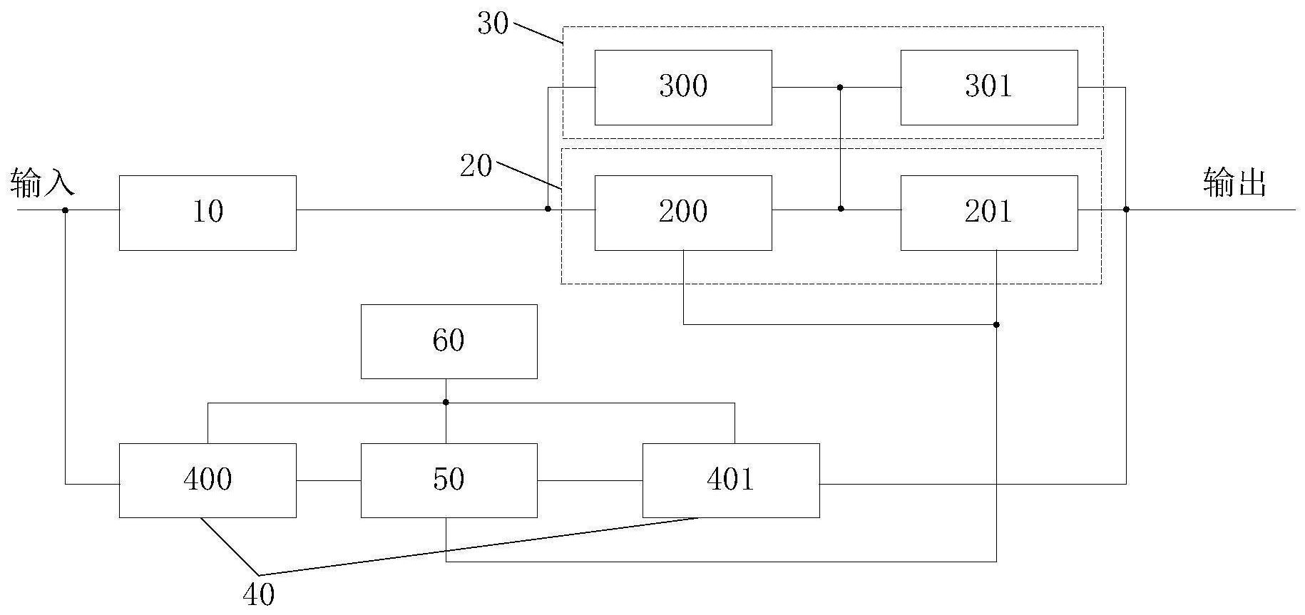
本申请提供了一种开关器件以及用电器,该开关器件包括退耦电路、继电器开关、保护电路、过零检测电路以及控制单元,其中,退耦电路用于接收交流电,并对交流电退耦;继电器开关的输入端与退耦电路的输出端电连接,继电器开关的输出端用于与负载电连接;保护电路与继电器开关并联,保护电路用于对继电器开关的开关状态变化过程产生的电弧进行限制和泄放,且保护电路的导通电压大于交流电;过零检测电路用于对交流电进行过零检测,并输出检测结果;控制单元与过零检测电路的输出端以及继电器开关的控制端分别电连接,控制单元用于接收开关控制指令以及检测结果,并根据开关控制指令以及检测结果控制继电器开关的开关状态。


