授权公布号:CN102082373B
芯片封装式存储装置
有效
申请
2009-11-27
申请公布
2011-06-01
授权
2015-03-25
预估到期
2029-11-27
| 申请号 | CN200910232044.6 |
| 申请日 | 2009-11-27 |
| 申请公布号 | CN102082373A |
| 申请公布日 | 2011-06-01 |
| 授权公布号 | CN102082373B |
| 授权公告日 | 2015-03-25 |
| 分类号 | H01R27/00;H01R12/70;H01R13/66;H01R13/46;H01L23/48 |
| 分类 | 基本电气元件; |
| 申请人名称 | 威刚科技(苏州)有限公司 |
| 申请人地址 | 江苏省苏州市工业园区新发路28号 |
专利法律状态
2015-03-25
授权
状态信息
授权
2013-01-02
实质审查的生效
状态信息
实质审查的生效IPC(主分类):H01R 27/00申请日:20091127
2011-06-01
公布
状态信息
公开
摘要
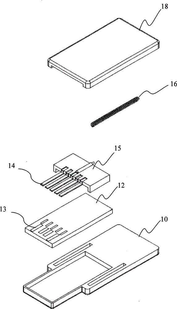
一种芯片封装式存储装置,可应用于USB2.0插座与USB3.0插座,该芯片封装式存储装置包含:芯片封装式(COB)基板、第一端子组、第二端子组及滑动模块。第二端子组设置于芯片封装式基板。滑动模块连接第一端子组,并设置于芯片封装式基板,用于带动第一端子组滑动。其中,藉由滑动模块带动第一端子组位于第一位置,使芯片封装式存储装置可插设于USB3.0插座;藉由滑动模块带动第一端子组位于第二位置,使芯片封装式存储装置可插设于USB2.0插座。本发明的芯片封装式存储装置可依USB插座的型式,而切换于USB2.0及USB3.0两种规格间,不仅可达到USB3.0的传输速度,又兼顾USB2.0插座的结构限制,增加了产品的通用性。


